一、焊条电弧焊的焊接过程
焊条电弧焊是熔焊方法之一。焊接过程如图4-1所示。

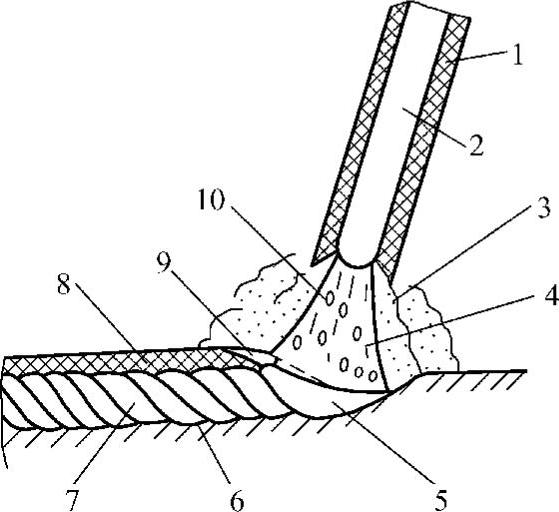
图4-1 焊条电弧焊过程示意图
1—药皮 2—焊芯 3—保护气 4—电弧 5—熔池 6—母材 7—焊缝 8—焊渣 9—熔渣 10—熔滴
开始焊接时,在焊条与焊件之间,先接触短路,然后立即提起焊条到一定距离,将电弧引燃,在电弧的高温作用下药皮、焊芯及焊件熔化,形成熔池。
焊条的焊芯熔化时,是以熔滴的形式向熔池过渡的。药皮熔化过程中产生的气体充满在电弧和熔池周围,产生的熔渣覆盖在液体金属上面,起着保护液态金属的作用,同时和熔化了的焊芯、母材发生系列的冶金反应,这种反应能精炼焊缝金属,提高焊缝质量。
随着电弧沿焊接方向移动,焊接熔池迅速冷却而凝固,形成焊缝,液态熔渣也随之冷却凝固成为焊渣。