一、切割

一、切割

钢材经划线号料后,要按其轮廓形状进行切割,在简单结构件的备料中,常采用的切割方法有气割、锯削、砂轮切割、剪切和錾削等。

1.气割

气割适用于型钢的切割或形状较复杂零件的切割,如薄钢板的曲线与转角的切割。气割的操作方法参见第十章。

2.锯削

锯削常用于切断型钢,它分为手工锯削和机械锯削两种。机械锯削的设备有弓锯床、圆盘锯、摩擦锯等。机械锯削时,为了提高效率,可将型钢用特制的夹具夹成一束,再一起锯削。

3.砂轮切割

型钢也可用砂轮切割机切割。切割时,工件要夹持牢固,防止松动,以免造成砂轮崩裂,发生事故

4.剪切

直线形板件一般采用剪床剪切,型钢可用联合剪床剪切。

5.錾削

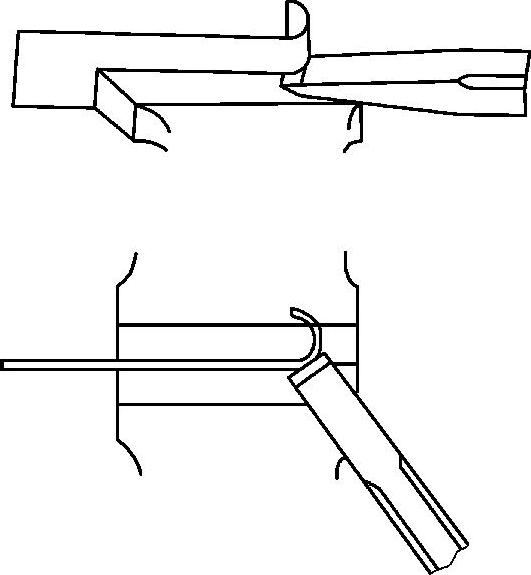
薄板小件也可用錾削切断,常用的方法是:将钢板夹在台虎钳上进行錾削切断,如图12-52所示,用扁錾贴着钳口并斜对着板面(约45°)自右向左錾削,工件的切断线应与钳口平齐,工件的夹持要牢固,以防切断过程中钢板松动而使切断线歪斜。

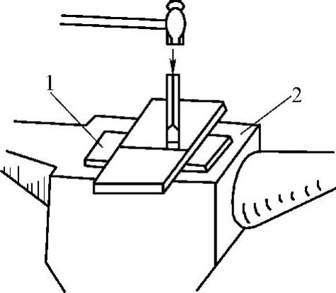
较大的钢板可在铁砧(或平台)上进行錾削切断,如图12-53所示,錾削时要在钢板下面衬以废旧软铁等材料,以免损伤錾子的切削刃。

978-7-111-28702-5-Chapter12-61.jpg

图12-52 钢板錾削切断法

978-7-111-28702-5-Chapter12-62.jpg

图12-53 较大钢板的錾削切断

1—垫板 2—铁砧