三、常用量具
电焊工常用量具有普通量具和焊接测量器等。普通量具主要有钢直尺和钢卷尺,其作用是检查较长焊缝的长度。
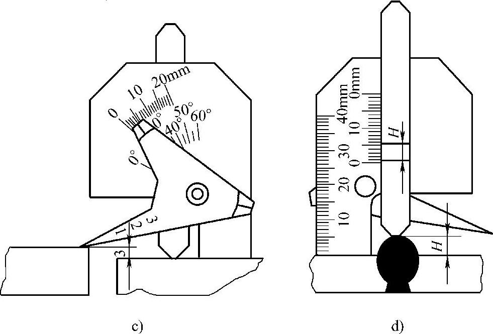
焊接测量器是一种精确测量焊缝的量规,使用范围很广,它可以测量焊接结构件及焊接零件的坡口角度、间隙宽度、焊缝高度和焊缝宽度等,其构造如图4-8所示。焊接测量器的使用方法如图4-9所示。

图4-8 焊接测量器的构造
1—主尺 2—活动尺 3—测角尺 4—铆钉

图4-9 焊接测量器用法示例
a)测量坡口角度 b)测量间隙宽度

图4-9 焊接测量器用法示例(续)
c)测量焊件错位 d)测量焊缝高度