熔化极气体保护电弧焊设备

三、熔化极气体保护电弧焊设备

1.焊接电源

熔化极气体保护电弧焊通常采用直流弧焊电源,如硅弧焊整流器、晶闸管弧焊整流器和弧焊逆变器等。

2.送丝系统

送丝系统通常由送丝机构(包括电动机、减速器、矫直滚轮、送丝滚轮)、送丝软管及焊丝盘等组成。其作用是将焊丝矫直后送到焊枪中。焊丝起电极作用及填充金属作用。熔化极气体保护电弧焊机的送丝系统根据送丝方式的不同,可分为推丝式、拉丝式和推拉式三种,如图6-16所示,一般采用推丝式。

表6-11 常用钨极氩弧焊机技术数据

978-7-111-28702-5-Chapter06-32.jpg

表6-12 钨极氩弧焊机的常见故障、产生原因及排除方法

978-7-111-28702-5-Chapter06-33.jpg

3.焊枪

熔化极气体保护电弧焊的焊枪分为半自动焊焊枪和自动焊焊枪。主要作用是导电、送丝与送气。

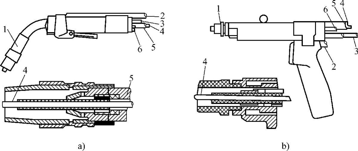
(1)半自动焊焊枪 半自动焊焊枪按冷却方式可分为气冷和水冷两类;按结构形式分为鹅颈式和手持式。鹅颈式焊枪适合于小直径的焊丝,其操作灵活方便,使用较广。手持式焊枪适用于较大直径的焊丝,它对冷却要求较高。图6-17为这两种焊枪的典型结构。

(2)自动焊焊枪 自动焊焊枪的结构与半自动焊焊枪基本相同,它固定在机头或行走机构上,经常在大电流情况下使用,除要求其导电部分、导气部分及导丝部分性能良好外,为适应大电流、长时间连续焊接,要求有水冷装置。

978-7-111-28702-5-Chapter06-34.jpg

图6-16 送丝方式示意图

a)推丝式 b)~d)拉丝式 e)推拉式

978-7-111-28702-5-Chapter06-35.jpg

图6-17 典型半自动焊焊枪结构

a)鹅颈式(气冷) b)手持式(水冷)

1—喷嘴 2—控制电缆 3—导气管 4—焊丝 5—送丝软管 6—电源输入

4.供气和水冷系统

(1)供气系统 供气系统与钨极氩弧焊相似,由气源(高压气瓶)、减压阀、流量计和电磁气阀组成,其作用是连续向焊缝供给气体,对焊缝进行保护。对于CO2气体,通常还需要安装预热器。

(2)水冷系统 水冷式焊枪的水冷系统由水箱、水泵、冷却水管及水压开关组成。其作用是冷却焊枪,防止其过热,以确保焊接顺利进行。

5.控制系统

熔化极气体保护电弧焊设备的控制系统由基本控制系统和程序控制系统组成。

(1)基本控制系统 主要包括焊接电源输出调节系统、送丝速度调节系统、小车(或工作台)行走速度调节系统(自动焊)和气体流量调节系统。其作用是在焊前或焊接过程中调节焊接电流或电弧电压、送丝速度和气体流量的大小。

(2)程序控制系统 主要作用是:控制焊接设备的起动和停止;控制电磁气阀的动作,实现提前送气和滞后停气,使焊缝区得到良好的保护;控制水压开关动作,保证焊枪有良好的冷却;控制引弧和熄弧;控制送丝和小车移动(自动焊时)。

6.CO2气体保护焊设备

CO2气体保护焊设备有半自动焊设备和自动焊设备两类,其中以半自动焊设备使用较多,它主要由弧焊电源、控制系统、焊枪及行走系统(自动焊)、送丝机构、供气系统和冷却水系统组成,如图6-18所示。

978-7-111-28702-5-Chapter06-36.jpg

图6-18 半自动CO2气体保护焊设备

1—电源 2—送丝机 3—焊枪 4—气瓶 5—减压调节阀

(1)弧焊电源CO2焊使用交流电源焊接时电弧不稳定,飞溅严重,因此必须采用直流焊接电源。

但在实际生产中均采用细丝CO2焊,故一般采用等速送丝配平外特性电源。采用平外特性电源有以下优点:

1)电弧燃烧稳定。在等速送丝条件下,平外特性电源电弧自身调节作用灵敏度高,使电弧能稳定燃烧。另外,平外特性电源短路电流大,引弧容易。

2)焊接参数调节方便。通过改变送丝速度可调节焊接电流,改变电源外特性来调节电弧电压,两者间的影响较小。

3)平外特性电源对防止焊丝回烧和粘丝有利。当电弧回烧时,随着电弧的拉长,焊接电流迅速减小,使电弧在未回烧到导电嘴时已熄灭。当焊丝粘在工件上时,平特性电源有足够大的短路电流使粘接处爆开,从而可避免粘丝。

(2)典型的CO2焊机

现以NBC—250型CO2焊机为例,对CO2气体保护焊设备进行介绍。该焊机为半自动焊机,主要由弧焊电源、控制系统、焊枪、送丝机构和供气系统组成。引弧、熄弧均由手工操作,只有简单的提前送气、滞后停气和送丝电动机的调速控制等电路,但由于其运行可靠、维修方便,所以在生产上仍被广泛应用。NBC—250型CO2焊机的主要技术数据如下:

额定电流:250A;

额定输入电压:380V;

相数:三相;

额定频率:50/60Hz;

额定输入容量:9kW;

焊接电流:60~250A;

电弧电压:17~27V;

电压调节级数:20;

焊丝直径:0.8~1.2mm;

额定负载持续率:60%;

质量:150kg。

7.常见故障及排除方法

CO2气体保护焊机常见故障、产生原因及排除方法见表6-13。

表6-13 CO2气体保护焊机常见故障、产生原因及排除方法

978-7-111-28702-5-Chapter06-37.jpg

(续)

978-7-111-28702-5-Chapter06-38.jpg