小直径管对接垂直固定焊

五、小直径管对接垂直固定焊

1.焊前准备和试件装配

1)修磨钝边0~0.5mm。

2)焊前清理同手工钨极氩弧焊薄板对接平焊。

3)装配间隙1.5~2.0mm,错边量≤0.5mm。

4)定位焊。一点定位,焊缝长10mm左右,并保证该处间隙为2mm,与其相隔180°处间隙为1.5mm,使管子轴线垂直并加以固定,间隙小的一侧位于右边。定位焊缝两端应先打磨成斜坡,以利于接头。

2.焊接参数

小直径管对接垂直固定焊焊接参数的选择见表9-15。

表9-15 小直径管对接垂直固定焊焊接参数

978-7-111-28702-5-Chapter09-65.jpg

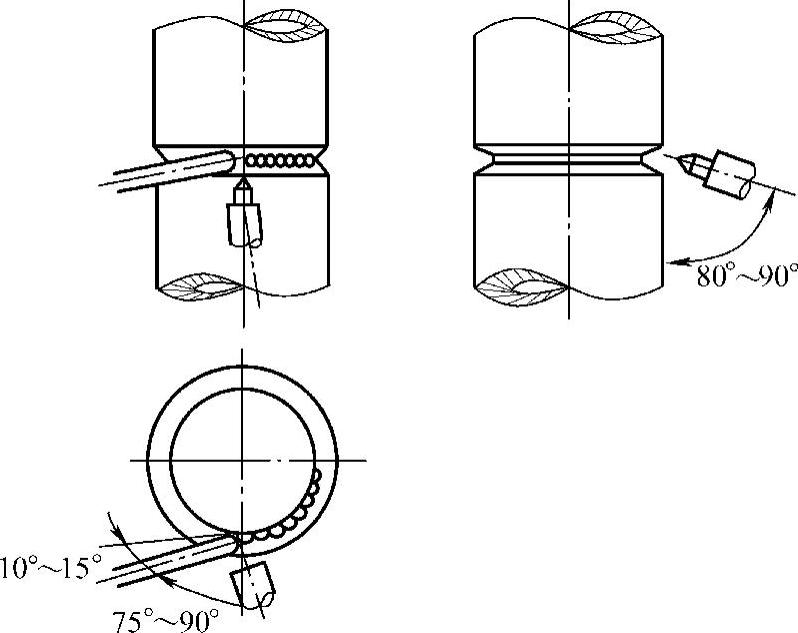
3.焊接技术

采用两层三道焊,打底焊为一层一道;盖面焊为上、下两道。

(1)打底焊 焊枪角度如图9-50所示,在右侧间隙最小处(1.5mm)引弧,先不加焊丝,待坡口根部熔化形成熔池后,将焊丝轻轻地向熔池里送一下,并向管坡口内摆动,将熔滴送到坡口根部,以保证背面焊缝的高度。填充焊丝的同时,焊枪小幅度做横向摆动并向左均匀移动。

978-7-111-28702-5-Chapter09-66.jpg

图9-50 垂直固定焊打底焊焊枪角度

在焊接过程中,填充焊丝以往复运动方式间断地送入电弧内的熔池前方,在熔池前呈滴状加入。焊丝送进要有规律,不能时快时慢,以保证焊缝成形美观。

当操作者移动位置暂停焊接时,应按收弧要点操作(见薄板对接焊收弧部分)。继续焊接时,焊前应将收弧处修磨成斜坡并清理干净,在斜坡上引弧移至离接头8~10mm处,焊枪不动,当获得明亮清晰的熔池后,即可填加焊丝,继续从右向左进行焊接。

978-7-111-28702-5-Chapter09-67.jpg

图9-51 垂直固定焊盖面焊焊枪角度

小直径管垂直固定打底焊时,熔池的热量要集中在坡口的下部,以防止上部坡口过热,母材熔化过多,产生咬边或焊缝背面的余高下坠。

(2)盖面焊 盖面焊缝由上、下两道组成,先焊下面的焊道,后焊上面的焊道,焊枪角度如图9-51所示。

焊下面的盖面焊道时,电弧对准打底焊道下缘,使熔池下沿超出管子坡口的棱边0.5~1.5mm,熔池上沿在打底焊道的1/2~2/3处。

焊上面的盖面焊道时,电弧对准打底焊道上缘,使熔池超出管子坡口棱边0.5~1.5mm,下沿与下面的焊道圆滑过渡,焊接速度要适当加快,送丝频率也加快,适当减少送丝量,防止焊缝下坠。