二 短期筹资策略

二 短期筹资策略

(一)筹资策略种类

企业可以根据所需流动资金的最佳数量水平、企业管理当局的管理风格以及风险承受能力等情况,科学、合理地安排长、短期筹资策略,以期能降低筹资风险,提高筹资效益。企业可采用的短期筹资策略大致可分为“正常型”、“稳健型”与“进取型”三种类型。

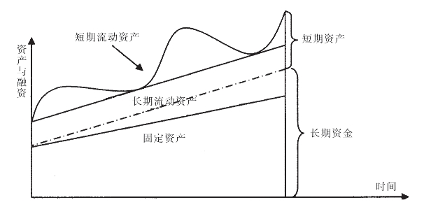
1.正常型筹资组合方式。正常型筹资组合方式也称匹配型筹资组合方式,即短期资产由短期资金来源形成,长期资产由长期资金来源形成。这里的短期资产是指流动资产,而长期资产主要指固定资产,当然,也包括无形资产和长期投资。另外,在流动资产中,有一部分产品和原材料储备是经常占用的,也属于长期占用的资产,称为长期流动资产。例如,企业资产总额数为6 000万元,其中长期资产3 000万元,流动资产3 000万元,长期流动资产占流动资产总额的40%,短期流动资产占流动资产总额的60%,则4 200(=3 000+3 000×40%)万元的长期资产和长期流动资产应由长期资金来源解决,而1 800(=3 000×60%)万元的短期流动资产则应由短期资金来源解决。正常型筹资组合如图5-1所示。

图5-1 正常型筹资组合

2.稳健型筹资组合方式。稳健型筹资组合方式又称为保守型筹资方式,采用保守型筹资组合的企业,不但其长期流动资产全部由长期资金形成,而且部分短期流动资产也由长期资金形成。这种筹资组合在短期流动资产占用处于低谷的时期会出现部分的资金剩余,需要用这些资金进行短期投资。这种筹资组合的风险小,安全性高,但资金利用效率较低,成本较高。

沿用上例,企业在生产经营的旺季采用短期融资渠道借入的资金800万元,少于所需的短期流动资产1 800万元,那么不仅长期资产3 000万元和长期流动资产1 200万元,而且短期流动资产1 000万元也要由长期筹资来解决。所以稳健型筹资组合是一种风险性和收益性均低的组合。稳健型筹资组合如图5-2所示。

图5-2中,以虚线代表的长期融资带来的资金流动超越了长期流动资产线(实线)之上,这说明长期融资带来的资金总量不仅可以满足长期流动资产和长期资产(如固定资产)的需求,而且部分短期流动资产也可以通过长期融资来获得,从而降低了短期偿债风险。企业获得了相对稳定的资金来源。但在销售淡季时,公司微薄的利润将被长期负债的利息所占用,从而降低了股东的预期收益。所以,该组合适用于有大量长期资本而无较好投资机会的公司。

图5-2 稳健型筹资组合

3.进取型筹资组合方式。进取型筹资组合方式,又称冒险型筹资方式,此项筹资方式与保守型筹资方式恰好相反,用长期性资金来融通部分长期性流动资产和固定资产,用短期资金来融通另外一部分长期流动资产和全部短期流动资产。这种筹资组合方式风险大,但资金成本低,可以减少企业的利息支出,增加企业盈利。

沿用上例,企业在生产经营的旺季采用长期融资渠道借入的资金只有3 600万元,低于长期资产3 000万元和长期流动资产1 200万元所需,那么长期资产和长期流动资产的600万元以及短期流动资产1 800万元也要由短期筹资来解决。所以进取型筹资组合是一种风险性和收益性均高的组合。

进取型筹资组合如图5-3所示。以长期融资方式融通的资金(虚线)在长期流动资产(实线)以内,说明公司以长期融资方式筹集的资金不能满足长期流动资产的需要,要靠大比例的短期负债来融通资金。短期筹资方式的利率的变动性加大了公司的盈利,但也给公司带来了到期偿债风险。所以,该组合适用于短期资本比较少的公司。

图5-3 进取型筹资组合

(二)筹资组合策略的选择

对筹资组合策略进行选择时,企业应考虑以下两点:

1.收益与风险的均衡。收益与风险成正比,在收益一定的情况下,如何降低风险是企业的第一要务。固定资产投资与营运资本应采用长期筹资方式,用短期筹资方式筹集到足够的资金偿还到期的债务。

2.保留适当的融资能力。融资能力应指企业拥有较好的信用和较强的还贷能力,不要涸泽而渔,在必要的时候动用短期融资手段,缓解财务危机。

由此可见,不同筹资组合的报酬和风险会影响企业的报酬和风险。在资金总额不变的情况下,短期资金增加可导致报酬的增加。也就是说,由于较多地使用了成本较低的短期资金,企业的效益将会增加。如果企业流动资产的合计数保持不变,则流动负债将会增加,流动负债增加将使流动比率下降,短期偿债能力减弱,财务风险加大。根据筹资组合的几种方式可得出结论:负债增加,资产负债率加大,风险同时加大;负债减少,资产负债率减小,企业收益下降。负债经营一定要考虑筹资组合方式的比例结构,并对其做好具体情况的分析。