2.5  习题·巩固

2.5 习题·巩固

本节给出3个题目,供读者练习。

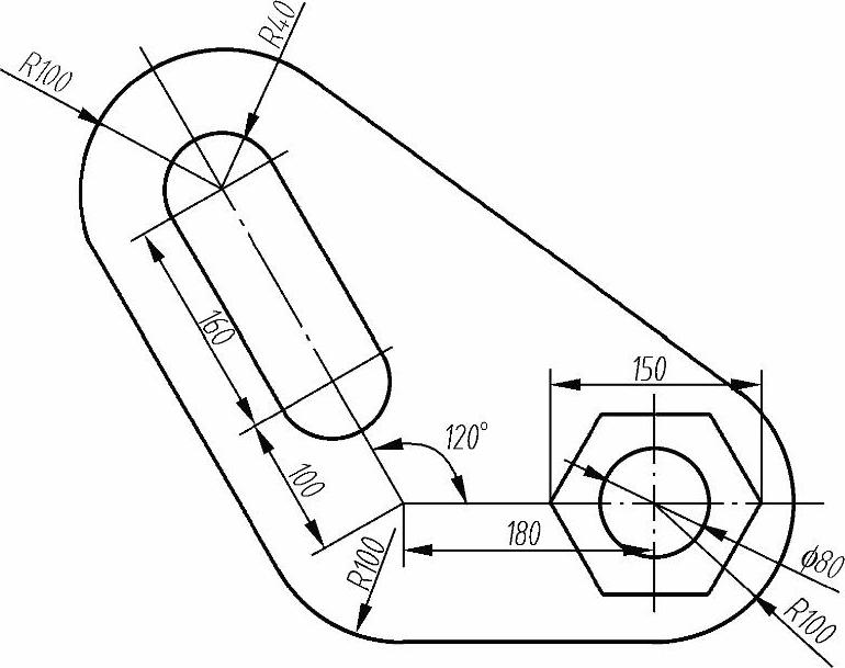
1.平面图形1,如图2-157所示。

2.平面图形2,如图2-158所示。

978-7-111-49664-9-Chapter02-272.jpg

图2-157 平面图形1

978-7-111-49664-9-Chapter02-273.jpg

图2-158 平面图形2

3.平面图形3,如图2-159所示。

978-7-111-49664-9-Chapter02-274.jpg

图2-159 平面图形3