9.2.2 应用2——标注等轴测图
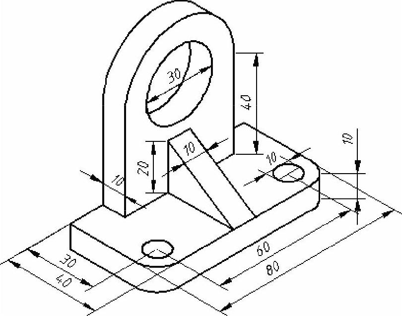
以上例零件图为基础,在图形中标注正确的等轴测图尺寸,如图9-46所示。

图9-46 零件尺寸标注
【思路分析】
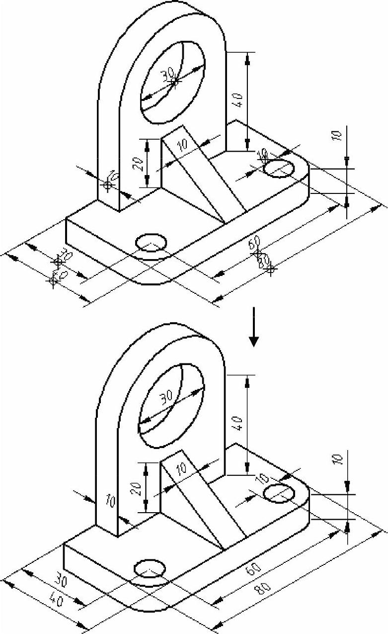
首先使用对齐标注的方式,把所需的所有尺寸标注出来(见图9-47);然后使用尺寸倾斜的命令修改尺寸界线的倾斜角度(见图9-48);最后按照不同位置尺寸修改文字倾斜角度(见图9-49)。

图9-47 引线标注图形

图9-48 调整尺寸界线角度

图9-49 修改文字角度与标注直径
【光盘文件】
——参见附带光盘中的“END\Ch9\9-2-2.dwg”文件。
——参见附带光盘中的“AVI\Ch9\9-2-2.avi”文件。
【操作步骤】
1)打开文件第9章“应用1”绘制的文件。
2)将“细实线”设置为当前层,单击“注释”工具栏中“对齐”按钮,标注出表现零件图尺寸的所有尺寸,如图9-50所示。

图9-50 对齐方式标注尺寸
3)修改尺寸界线。根据本章9.1.3中2给出的各个位置尺寸的倾斜规律,修改尺寸界线的倾斜角度。选择功能区中的“注释”选项卡,打开“注释”面板组,在展开的“标注”面板中单击“倾斜”按钮
,根据命令行提示,选择尺寸为30和40并按〈Enter〉键,根据提示输入旋转角度30并确认,如图9-51所示。

图9-51 倾斜角度30°的尺寸
4)按照步骤3)的操作,修改尺寸60、尺寸80和直径为10的倾斜角度为-30°,如图9-52所示。

图9-52 倾斜角度-30°的尺寸
5)按照步骤3)的操作,修改竖板厚度尺寸10和竖板圆孔半斤尺寸30倾斜角度为90。,如图9-53所示。

图9-53 倾斜角度90度的尺寸
6)通过指定点来修改倾斜角度。加强肋的尺寸倾斜角度不属于常规的正负30°或者90°,可以通过指定方式来修改倾斜角度。单击在展开的“标注”面板中单击“倾斜”按钮
,根据命令行提示,选择加强肋厚度尺寸10,在提示输入倾斜角度时,鼠标左键先后点击点A和点B,尺寸就回倾斜到合适的角度,如图9-54所示。

图9-54 手动指定任意角度
7)剩下的水平方向的尺寸界线则不需要倾斜角度。
8)倾斜标尺文字角度。选择上述修改过尺寸界线的尺寸(图9-55中尺寸下有点标志的标注),选择“30”标注样式设置作为选中尺寸的尺寸样式,如图9-55所示。

图9-55 倾斜尺寸文字角度
9)为直径尺寸添加直径符号。双击直径30的尺寸标注,在数值前输入“%%C”,输入直径符号Φ。采用相同方法修改另一个直径10的尺寸标注,如图9-56所示。
10)标注圆弧的半径。由于无法在轴测环境中直接标注半径,需要采用引线和单行文字功能标注。单击“注释”面板中的“多重引线”按钮,根据命令行提示,点击竖板圆圆心为第一点,圆弧任意点为第二点;当提示输入文字时,按〈ESC〉键,不输入文字。单击“文字”面板中的“单行文字”按钮,在引线节点上方为文字起点,文字旋转角度0°;在光标输入“R25”,按〈ESC〉键完成输入,如图9-56所示。
11)采用相同的方法标注另一处的圆弧半径,如图9-56所示。

图9-56 标注完成
12)保存文件。