9.4  习题·巩固

9.4 习题·巩固

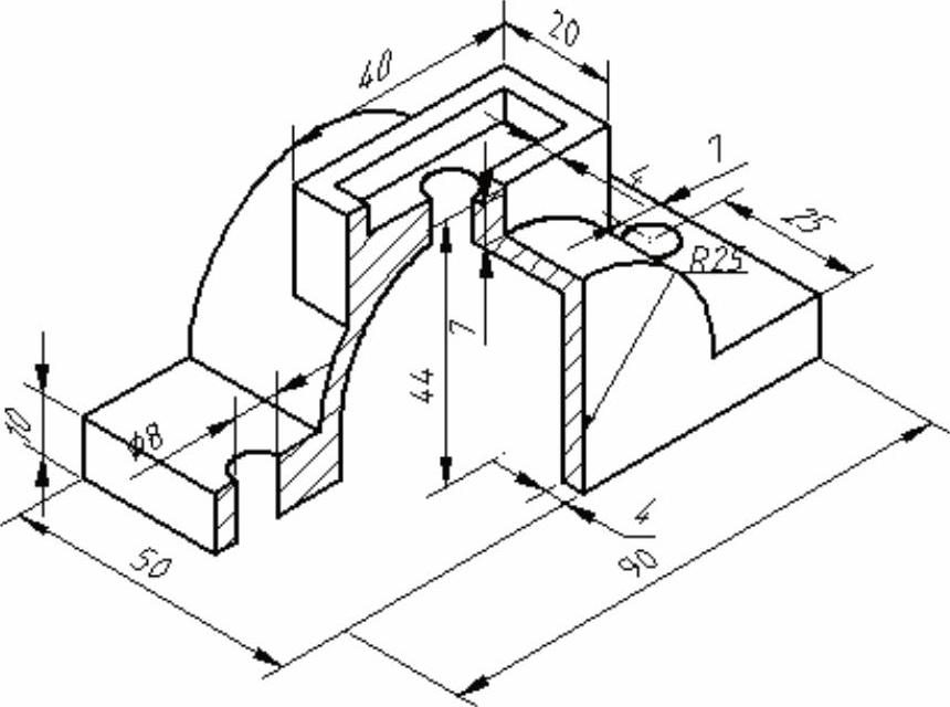
绘制并标注下列实体的轴测图,尺寸如图9-92和图9-93所示,并绘制等轴测剖视图,如图9-94所示。

978-7-111-49664-9-Chapter09-113.jpg

图9-92 组合体等轴测图

978-7-111-49664-9-Chapter09-114.jpg

图9-93 零件等轴测图

978-7-111-49664-9-Chapter09-115.jpg

图9-94 等轴测剖视图