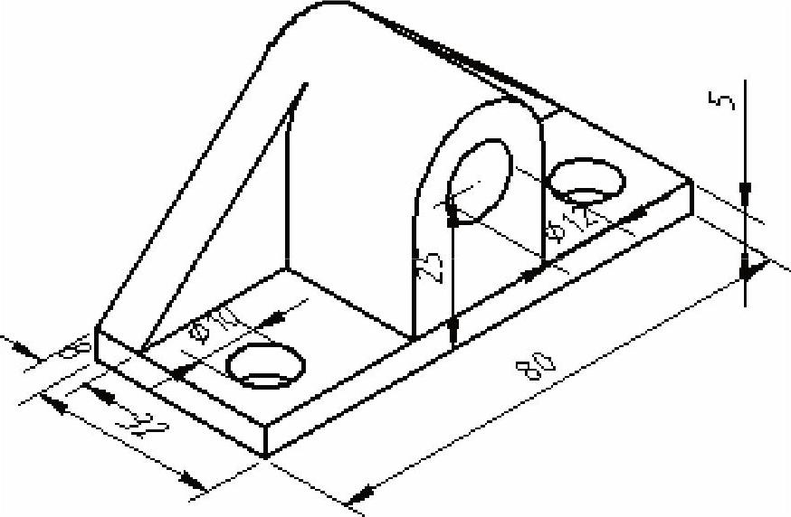
9.3.2 案例2——绘制轴承座等轴测图
以常用配件轴承座为例,如图9-69所示,综合运用轴测图中绘图的方法与技巧。

图9-69 轴承座等轴测图
【思路分析】
轴测座的绘制同样由底座开始(见图9-70);然后到轴承孔(见图9-71);再到两边的肋板(见图9-72);最后标注尺寸并做调整(见图9-73)。

图9-70 底板的绘制

图9-71 轴承孔与肋板的绘制

图9-72 修改等轴测图

图9-73 标注尺寸
【光盘文件】
——参见附带光盘中的“END\Ch9\9-3-2.dwg”文件。
——参见附带光盘中的“AVI\Ch9\9-3-2.avi”文件。
【操作步骤】
1)打开第3章“应用1”中保存好的文件“图层样板.dwt”,文件继承了“应用1”中设置好的图层特性。
2)将光标指向“应用程序”状态栏中的“捕捉”按钮,单击鼠标右键,在弹出的快捷菜单中选择“设置”命令,弹出“草图设置”对话框,其中的“捕捉和栅格”选项卡处于选中状态,在“捕捉类型”选项组中,选择“等轴测捕捉”单选按钮,如图9-74所示。最后,单击“确定”按钮。

图9-74 设置等轴测绘图环境
3)绘制轴测座底板。打开正交模式,将“轮廓线”设置为当前层,单击“绘图”工具栏中“直线”按钮,任意位置作为第一点,采用正交模式下,光标指定方向,命令行输入数值的方法,准确绘制底板,在绘制过程中,需要合理地按〈F5〉键,切换等轴测视图平面,绘制结果与底板尺寸如图9-75所示。

图9-75 绘制轴测座底板
4)绘制等轴测圆定位辅助线。按〈F5〉键,直到命令行会提示“命令:<等轴测平面 俯视>”,光标夹角改变,切换到俯视平面。单击“修改”面板“复制”按钮,选择直线1确认,以底板点A为第一基点,移动光标往右上方,在命令行输入“10”确认,再输入“70”确认,如图9-76所示。

图9-76 绘制纵向定位辅助线
绘制横向定位辅助线。激活“复制”命令,采用上面相同的方法绘制横向定位线,复制对象为直线2,第一基点为点B,偏移的距离定为10,方向为左上方,如图9-77所示。

图9-77 绘制等轴测圆定位辅助线
5)绘制底板上等轴测圆。继续在俯视视图中绘图,单击“绘图”工具栏中“椭圆”按钮,根据命令行提示,输入I绘制等轴测圆绘制,选定上一步辅助直线的交点为圆心,命令行提示半径输入“5”按〈Enter〉键确认,在另一个交点重复绘制一个圆,如图9-78所示。

图9-78 绘制底板上等轴测圆
6)复制等轴测圆。单击“修改”面板“复制”按钮,选择上一步绘制的两个圆为复制对象,以底板角点A为第一基点,角点B为第二基点,完成复制,如图9-79所示。

图9-79 复制等轴测圆
7)删除辅助线,并修剪等轴测圆被遮挡的直线,如图9-80所示。

图9-80 修剪线段
8)在右视图平面状态下,打开“对象捕捉追踪”功能,选择中点的捕捉。单击“绘图”工具栏中“直线”按钮,选择直线1中点为第一点,移动光标竖直向上,当前命令行输入“20”,完成绘制,如图9-81所示。

图9-81 绘制直线
9)绘制右平面等轴测圆。单击“绘图”工具栏中“椭圆”按钮,根据命令行提示,输入I绘制等轴测圆绘制,选定上一步辅助直线的上端点为圆心,命令行提示半径输入“12”按〈Enter〉键确认,结果如图9-82所示。

图9-82 轴插入点
10)绘制构造线。单击“绘图”工具栏中“构造”按钮,根据命令行提示,指定上一步等轴测圆圆心为第1点,在正交水平方向任意点为第2点,完成绘制,如图9-83所示。

图9-83 绘制构造线
11)单击“绘图”工具栏中“直线”按钮,分别以构造线与圆的两个交点为第1点,竖直方向与底座交点为第2点,绘制两条直线,如图9-84所示。

图9-84 绘制两条直线
12)修剪右平面图形。使用“修剪”和“删除”命令,将上一步的图形修改成如图9-85所示。

图9-85 修剪右平面图形
13)复制右平面。按〈F5〉键,直到命令行会提示“命令:<等轴测平面 俯视>:”,光标夹角改变,切换到俯视平面。单击“修改”面板“复制”按钮,选择右平面竖板的图形(一段半圆弧和两条直线),以底板角点A为第一基点,移动光标往左上方,在命令行输入“24”,按〈Enter〉键确认,再输入“32”,按〈Enter〉键确认,完成复制,如图9-86所示。

图9-86 复制右平面图形
14)绘制右平面轴承孔。单击“绘图”工具栏中“椭圆”按钮,根据命令行提示,输入I绘制等轴测圆绘制,选定外圆弧圆心端点为圆心,命令行提示半径输入“6”按〈Enter〉键确认,结果如图9-87所示

图9-87 绘制右平面轴承孔
15)切换到俯视图平面,绘制轮廓线,如图9-88所示。

图9-88 绘制直线
16)绘制肋板。通过连接圆弧部分的象限点与底板接点,绘制直线来绘制左右肋板,如图9-89所示。

图9-89 绘制肋板
17)修剪图形。用“修剪”和“删除”命令修改等轴测图,如图9-90所示。

图9-90 修剪图形
18)标注与倾斜尺寸,如图9-91所示。

图9-91 标注与倾斜尺寸
19)保存文件。