6.2 实例·知识点——图形的尺寸标注
打开目录中已保存好的图形,利用上一节中学习到的尺寸标注样式设置方法,新建一个尺寸样式,使用“对齐标注”“直径标注”“角度标注”等命令对其进行标注,掌握标注命令的使用。
图6-55为标注完成后的曲柄图形,图形实际为第4章中的一个实例。

图6-55 曲柄
【思路分析】
使用已经学习过的尺寸标注样式设置方法,新建一个标注样式,使用“对齐标注”“直径标注”“角度标注”等命令对保存好的图形进行标注,初步学习体会标注命令的使用。
【光盘文件】
——参见附带光盘中的“START\Ch6\6-2.dwg”文件。
——参见附带光盘中的“END\Ch6\6-2.dwg”文件。
——参见附带光盘中的“AVI\Ch6\6-2.avi”文件。
【操作步骤】
1)打开附带光盘中保存好的附带文件。
2)新建尺寸标注样式,并将其置为当前标注样式。
标注样式的建立步骤和前面的相同,另外要建立一个用于“角度”标注的子样式,因为按照《机械制图》国家标准,角度尺寸的尺寸数字要求水平放置,所以要建立一个用于“角度”标注的子样式,将“文字位置”设置为水平。
先建立一个标注样式,名称为“制图标注”,是基于“ISO-25”建立的,操作即为实例6.1所示。然后设置用于“角度”尺寸标注的子样式。在“标注样式管理器”中单击“新建”按钮,在弹出的“创建新标注样式”对话框中的“基础样式”下拉列表框中选择“制图标注”,在“用于”下拉列表框中选择“角度标注”,单击“继续”按钮,如图6-56所示。

图6-56 新建角度标注子样式
单击“继续”后,如图6-57所示,在“新建标注样式:制图标注:角度”对话框中的“文字”选项卡,在“文字位置”选项组中的“垂直”下拉列表框中选择“外部”选项;将“文字对齐”选项设置为“水平”;单击“确定”按钮,完成“角度”尺寸标注的子样式的设置。

图6-57 设置文字选项
单击“确定”按钮,完成“角度”尺寸标注的子样式的设置,如图6-58所示。

图6-58 标注样式列表
3)单击“图层”面板中的“图层选择”下拉列表切换“标注”图层为当前图层。
4)在功能区,单击选择“注释”选项卡,切换到这一选项卡中,如图6-59所示。

图6-59 注释选项卡
5)在“注释”选项卡中的“标注”面板区,单击“标注”下拉列表,选择其中的“线性”命令,如图6-60所示。

图6-60 选择“线性“命令
如图6-61所示,系统提示“指定第一个尺寸界线原点或<选择对象>:”使用对象捕捉功能指定图中所指端点为第一个尺寸界线原点;系统提示“指定第二个尺寸界线原点”,使用对象捕捉功能指定图中所指端点为第二个尺寸界线原点;然后拖动光标将尺寸文字放置在合适位置后,单击左键,完成标注。

图6-61 标注长度尺寸
6)继续“线性”命令,标注肋部分尺寸,标注完成后如图6-62所示。

图6-62 标注长度尺寸
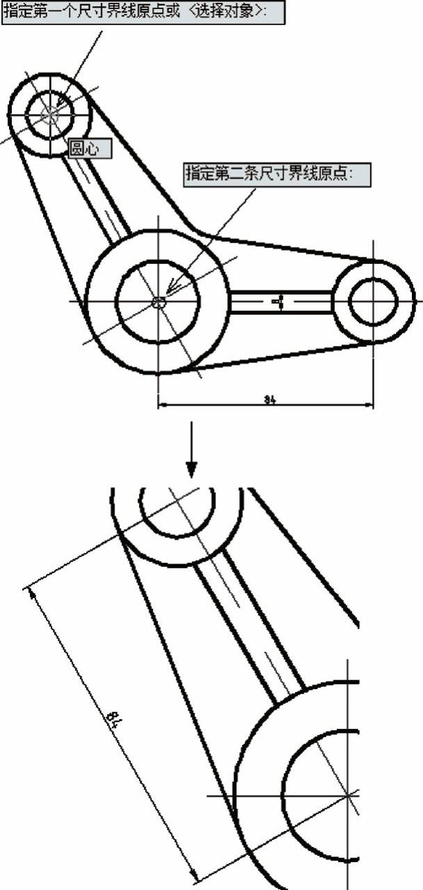
7)在“注释”选项卡中的“标注”面板区,单击“标注”下拉列表,选择其中的“对齐”命令,如图6-63所示。
如图6-64所示,系统提示“指定第一个尺寸界线原点或<选择对象>:”,使用对象捕捉功能指定图中所指圆心或交点为第一个尺寸界线点;系统提示“指定第二个尺寸界线原点”,使用对象捕捉功能指定图中所指圆心或交点为第二个尺寸界线点;然后拖动光标将尺寸文字放置在合适位置后,单击左键,完成标注。

图6-63 选择“对齐”命令

图6-64 标注长度尺寸
8)在“注释”选项卡中的“标注”面板区,单击“标注”下拉列表,选择其中的“直径”命令,如图6-65所示。

图6-65 选择“直径”命令
如图6-66所示,系统提示“选择圆弧或圆”,单击选择图中所指的需要标注的圆,然后移动光标将尺寸放置在合适位置后,单击左键,完成标注。

图6-66 标注直径
9)继续“直径”标注命令,将几个圆的直径标注,完成后如图6-67所示。

图6-67 标注直径
10)单击“标注”下拉列表,选择其中的“半径”命令,如图6-68所示。

图6-68 选择“半径”命令
如图6-69所示,系统提示“选择圆弧或圆”,单击选择图中所指的需要标注的圆,然后移动光标将尺寸放置在合适位置后,单击左键,完成标注。

图6-69 标注半径
11)单击“标注”下拉列表,选择其中的“角度”命令,如图6-70所示。

图6-70 选择“角度”命令
如图6-71所示,系统提示“选择圆弧、圆、直线或<指定顶点>:”,选择图中所指的中心线;系统提示“选择第二条直线:”,选择图中所指的另一条中心线,然后移动光标将尺寸放置在合适位置后,单击左键,完成标注。

图6-71 标注角度
12)单击“标注”下拉列表,选择其中的“折弯”命令,如图6-72所示。

图6-72 选择“折弯”命令
如图6-73所示,系统提示“选择圆弧或圆”,选择图中所指的圆弧;系统提示“指定图示中心位置”,在合适位置单击左键,指定标注线的端点;系统提示“指定尺寸线位置或[多行文字(M)/文字(T)/角度(A)]:”,然后移动光标在合适的位置单击左键,确定尺寸放置位置;系统提示“指定折弯位置:”,移动光标单击左键,指定合适的折弯位置。

图6-73 标注折弯尺寸
13)在“注释”选项卡中的“标注”面板区,单击“打断”命令按钮,如图6-74所示。

图6-74 选择“打断”命令
如图6-75所示,系统提示“选择要添加/删除折断的标注或[多个(M)]”,选择“120。”的角度标注,然后按〈Enter〉键,完成对标注的打断。
图形的标注便已全部完成,如图6-55所示。

图6-75 打断尺寸