10.5.1 案例1——定位支座
支座类的零件没有明显旋转对称或者拉伸对称,但是可通过切换平面来绘制拉伸面来达到绘制的目的。本例为定位支座,在绘制的过程中需要多次切换视图以及变更UCS,消隐后的实体图如图10-176所示。
【思路分析】
首先,在前视图中绘制需要拉伸的底座截面(见图10-177),然后回到西南等轴测视图,添加圆角与螺栓孔(见图10-178);再绘制中间的大孔(见图10-179),最后为大孔开槽(见图10-180)。

图10-176 定位支座

图10-177 拉伸支座底板

图10-178 绘制圆角与螺栓孔

图10-179 绘制中心大孔

图10-180 开槽
【光盘文件】
——参见附带光盘中的“END\Ch10\10-5-1.dwg”文件。
——参见附带光盘中的“AVI\Ch10\10-5-1.avi”文件。
【操作步骤】
1)运行AutoCAD2014,然后新建一个空白文件,接着单击绘图区域左上角的“视图控件”菜单栏,并在弹出的菜单栏中选择“前视”选项,将视图调整为前视图,如图10-181所示。

图10-181 设置视图控件
2)使用“直线”和“圆弧”命令绘制轮廓线,并使用“修剪”命令修剪多余的线段,不必标注尺寸,并把当前UCS原点与圆弧圆心重合,如图10-182所示。

图10-182 绘制二维图形
3)创建面域。单击“绘图”工具栏中“面域”
按钮,选择上一步绘制的二维图形创建为面域。
4)单击绘图区域左上角的“视图控件”菜单栏,并在弹出的菜单栏中选择“西南等轴测”选项,将视图调整为西南等轴测视图,如图10-183所示。

图10-183 设置视图控件
5)单击“建模”工具栏中“拉伸”
按钮,按命令行提示选择步骤3)创建的面域为拉伸对象按〈Enter〉键,移动光标往Z轴正向,当前命令行输入“95”按〈Enter〉键,完成拉伸操作,如图10-184所示。

图10-184 拉伸面域
6)单击功能区“实体”选项卡的“实体编辑”面板中单击“圆角边”
按钮,在当前命令行输入R按〈Enter〉键,输入圆角半径“15”按〈Enter〉键,选择四条棱边按〈Enter〉键,再按一次〈Enter〉键完成绘制,如图10-185所示。

图10-185 三维圆角
7)新UCS创建。命令行输入UCS按〈Enter〉键,再输入X按〈Enter〉键,命令提示输入旋转角度“270”按〈Enter〉键完成创建,如图10-186所示。

图10-186 新UCS
8)单击“建模”工具栏中“圆柱体”
按钮,按命令行提示指定圆心时,光标往支座底板的圆角移动,当出现圆心标记时单击,输入圆柱底面半径“7.5”按〈Enter〉键,最后提示指定高度时,光标往Z轴负方向移动,输入“12”按〈Enter〉键,完成圆柱体的绘制如图10-187所示。

图10-187 绘制圆柱体
9)命令行输入3DARRAY激活三维阵列操作,根据命令行提示,选择上一步绘制的圆柱体作为阵列的对象按〈Enter〉键。弹出的阵列类型列表中选择“矩形”,输入行数为“2”按〈Enter〉键,输入列数为“2”按〈Enter〉键,输入层数为“1”按〈Enter〉键,输入指定行间距“-65”按〈Enter〉键,输入指定行间距“90”按〈Enter〉键,完成阵列如图10-188所示。

图10-188 矩形阵列圆柱体
10)单击“实体编辑”面板中的“差集”
按钮,根据命令行提示选择支座底板实体为被减去的实体按〈Enter〉键。选择上一步阵列的四个圆柱体为减去的实体按〈Enter〉键,完成差集运算,如图10-189所示。

图10-189 差集运算
11)单击“建模”工具栏中“圆柱体”
按钮,按命令行提示指定圆心时,输入“0,-47.5,12”按〈Enter〉键,输入圆柱底面半径“35”按〈Enter〉键,最后提示指定高度时输入“58”按〈Enter〉键,完成圆柱体的绘制如图10-190所示。

图10-190 绘制圆柱体
12)单击“建模”工具栏中“圆柱体”
按钮,按命令行提示指定圆心时,输入“0,-47.5,12”按〈Enter〉键,输入圆柱底面半径“20”按〈Enter〉键,最后提示指定高度时输入“58”按〈Enter〉键,完成圆柱体的绘制如图10-191所示。

图10-191 绘制圆柱体
13)新UCS创建。命令行输入UCS按〈Enter〉键,再输入X按〈Enter〉键,命令提示输入旋转角度“90”按〈Enter〉键完成创建。
14)单击“建模”工具栏中“圆柱体”
按钮,按命令行提示指定圆心时,输入“0,0,0”按〈Enter〉键,输入圆柱底面半径“15”按〈Enter〉键,最后提示指定高度时输入“95”按〈Enter〉键,完成圆柱体的绘制如图10-192所示。

图10-192 绘制圆柱体
15)单击“实体编辑”面板中的“差集”
按钮,根据命令行提示,选择半径为30、高度为58的圆柱体为被减去的实体按〈Enter〉键。选择半径为20、高度为58的圆柱体和半径为15、高度为95的圆柱体为减去的实体按〈Enter〉键,完成差集运算,如图10-193所示。

图10-193 差集运算
16)单击“实体编辑”面板中的“并集”
按钮,根据命令行提示选择所有实体按〈Enter〉键,完成并集运算,如图10-194所示。

图10-194 并集运算
17)单击绘图区域左上角的“视图控件”菜单栏,并在弹出的菜单栏中选择“前视”选项,将视图调整为前视图,调整后图像如图10-195所示。

图10-195 前视图
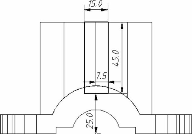
18)使用“直线”命令,在前视图中绘制一个矩形,图形的大小位置如图10-196所示,不必标注尺寸。

图10-196 绘制二维图形
19)创建面域。单击“绘图”工具栏中“面域”
按钮,选择上一步绘制的二维图形创建为面域。
20)将视图切换回“西南等轴测”视图,单击“建模”工具栏中“拉伸”
按钮,按命令行提示选择步骤3)创建的面域为拉伸对象按〈Enter〉键,移动光标往Z轴正向,当前命令行输入“95”按〈Enter〉键,完成拉伸操作,如图10-197所示。

图10-197 拉伸图形
21)单击“实体编辑”面板中的“差集”
按钮,根据命令行提示,选择定位支座为被减去的实体按〈Enter〉键。选择上一步拉伸的长方体为减去的实体按〈Enter〉键,完成差集运算,如图10-198所示。

图10-198 差集运算
22)在菜单栏中选择“视图”→“视觉样式”→“概念”命令,得到的模型效果如图10-199所示。

图10-199 概念视图样式
23)保存文件。