4.5.3  铣削带柄圆球的计算

4.5.3 铣削带柄圆球的计算

1.单柄球面的铣削计算

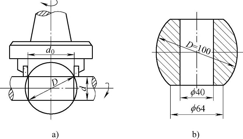
尺寸较小的带柄圆球,可安装在分度头上进行铣削,但分度头应扳转一个角度α,故通称为工件倾斜铣削法,这样球心调整和进给控制等操作均比较方便,如图4-50所示。

分度头扳转角度α可用以下公式计算∶

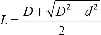
sin2α=978-7-111-48239-0-Chapter04-139.jpg或tanα=978-7-111-48239-0-Chapter04-140.jpg

式中 α——分度头应扳转的角度(°);

d——圆球柄部直径(mm);

D——圆球直径(mm);

L——球体长(mm)。

978-7-111-48239-0-Chapter04-141.jpg

978-7-111-48239-0-Chapter04-142.jpg

图4-50 单柄球面的铣削

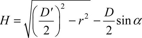
在铣削时,由于工件往往是毛坯,因此需要先计算出进给距离H,如图4-50所示,其计算公式如下∶

978-7-111-48239-0-Chapter04-143.jpg

式中 D′——圆球毛坯直径(mm);

r——刀尖回转半径(mm),r=978-7-111-48239-0-Chapter04-144.jpgcosα

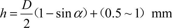
刀尖伸出刀盘高度h的计算公式为

978-7-111-48239-0-Chapter04-145.jpg

2.双柄球面的铣削计算

两端直径相等的双柄球面,即为对称的球带。铣削时如图4-51a所示,铣刀轴线与工件轴线的夹角β=90°,即相互垂直。

铣刀刀尖的回转直径d0可用下式计算∶

978-7-111-48239-0-Chapter04-146.jpg

式中 d——柄部直径(mm);

D——球面直径(mm)。

若加工图4-51b所示的球面,两端不是柄而是平面,在铣削时刀尖不受柄部的限制,故可先计算出刀尖回转直径的最小值,而刀尖的实际回转直径可大些,一般大3~5mm,但太大会铣到心轴。

978-7-111-48239-0-Chapter04-147.jpg

图4-51 双柄球面的铣削