7.2  交叉孔零件加工计算

7.2 交叉孔零件加工计算

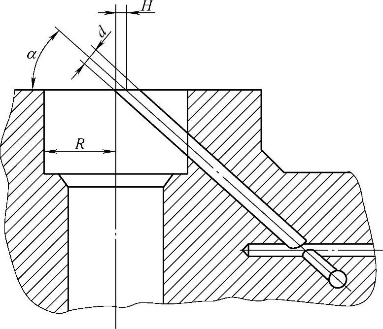
在机械零件中,常常会出现这样一种情况:图样上所标注的一些尺寸没法进行加工或直接测量。图7-3所示的具有交叉孔的零件的偏心距H,就属于这种情况。这种问题,可以应用直角三角形边角关系的计算方法得到解决。

978-7-111-48239-0-Chapter07-7.jpg

图7-3 具有偏心交叉孔的零件