5.5.2 双砂轮磨削计算
1.用两个角度砂轮磨花键侧面
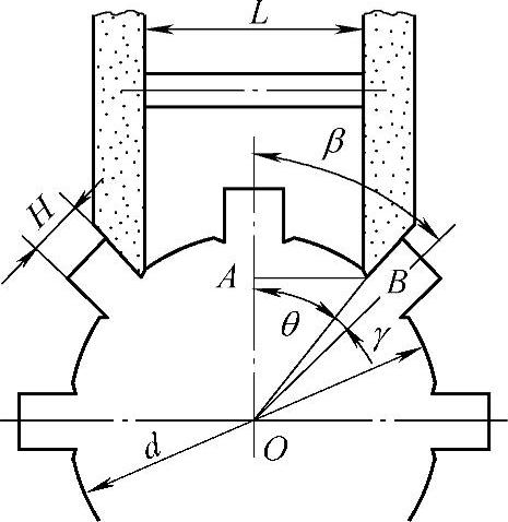
砂轮修整简单、调整方便,尺寸L必须准确,用于小径d定心的花键轴的磨削。如图5-37所示,在砂轮主轴上同时安装两个角度砂轮磨削花键侧面。
两砂轮之间的安装距离L可按下面公式计算:

式中 L——两砂轮之间的安装距离(mm);
β——两键中心夹角(°);
H——键宽(mm);
d——花键轴小径(mm);
n——键的数目。
2.用两个平形砂轮磨花键侧面
用两个平形砂轮磨花键侧面,如图5-38所示。在安装砂轮时,两砂轮相邻侧面之间的距离L可按下式计算:

图5-37 用两个角度砂轮磨花键侧面

图5-38 用两个平形砂轮磨花键侧面

式中 H——键宽(mm);
d——花键轴小径(mm)。