【实验内容与步骤】
1.观察牛顿环的干涉图样
(1)调整牛顿环仪的三个调节螺丝,把自然光照射下的干涉图样移到牛顿环仪的中心附近。注意调节螺丝不能太紧以免中心暗斑太大甚至损坏牛顿环仪。
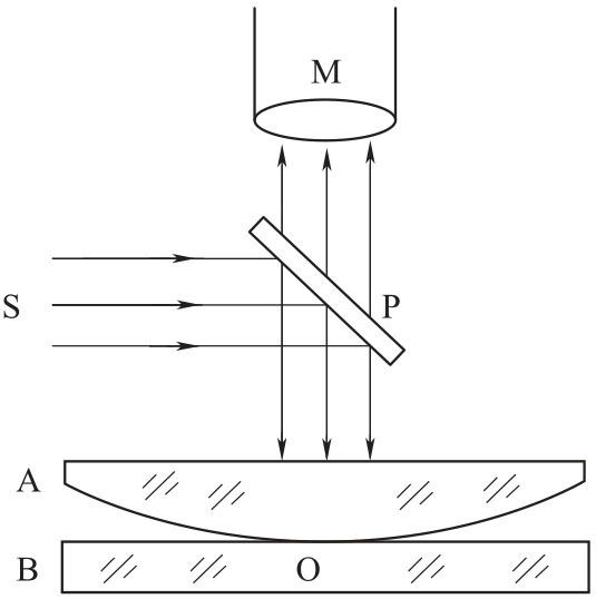
接通钠光灯电源,如图2-86所示,钠光灯发出单色光S水平照射半反射镜P,经45°角的位置半反射镜P反射到牛顿环器件A、B上,从目镜M 中能看到明亮的均匀光照。

图2-86 读数显微镜
(2)调节读数显微镜的目镜,使十字叉丝清晰,自下而上调节物镜直至观察到清晰的干涉图样。移动牛顿环仪,使中心暗斑(或亮斑)位于视域中心,调节目镜系统,使叉丝横丝与读数显微镜的标尺平行,消除视差,并观测待测的各环左右是否都在读数显微镜的读数范围之内。
2.测量牛顿环的直径
(1)选取要测量的m 和n 各五个条纹,如取m 为30、28、26、24、22 五个环,n 为20、18、16、14、12 五个环。
(2)转动鼓轮,先使镜筒向左移动,顺序数到35 环,再向右转到30环,使叉丝尽量对准干涉条纹的中心,记录读数。然后继续转动测微鼓轮,使叉丝依次与30、28、26、24、22、20、18、16、14、12环对准,顺次记下读数。再继续转动测微鼓轮,使叉丝依次与圆心右12、14、16、18、20、22、24、26、28、30环对准,也顺次记下各环的读数。
注意:在一次测量过程中,测微鼓轮始终应沿一个方向旋转,中途不得反转,以免引起回程差。
3.利用劈尖干涉测量薄片的厚度(选做内容)
(1)把两块玻璃片一端平行相接,并使下玻璃片略微向前伸出(图2-84),两玻璃片的交线尽量与端线平行,在另一端夹入平整纸片,使纸片的边线尽量与端线平行,并让玻璃片边线与读数显微镜标尺平行,放于物镜正下方。
(2)转动显微镜上的45°角半反射片,使得目镜中看到的视场均匀明亮,注意显微镜底座的反射镜不能有向上的反射光。自下而上调节目镜直至观察到清晰的干涉图样,移动劈尖使条纹与叉丝的竖线平行,并消除视差。
(3)测10条条纹的间距L10:以某一条纹为Lx,记下读数显微镜读数,数过10条测出Lx+10,则L10=|Lx+10-L10|。
(4)测N 条条纹的总间距L:测出玻璃片接触处的读数L0,再测出纸片夹入处的读数LN(图2-85),则L=|LN-L0|。
(5)重复测量L 和L10各五次。