联合剖面法ρs曲线的特征
1.联合剖面法过陡立接触面时的ρs剖面曲线

图2-2 广东某地联合剖面平面图
联合剖面法是由两组三极装置组成的,由于供电电极与测量电极的排列次序不同,故在过陡立接触面时的
和
曲线特征也不同。现在让我们用电流密度的分布规律解释
曲线的变化特征。如图2-4所示,设ρ1>ρ2,无覆盖层,且MN→0,整个装置由左向右移动。
(1)当装置距离接触面很远(实际上只要大于2AO就可算很远了)时,界面的影响可以忽略,地中电流的分布与只有ρ1岩石时的均匀介质相同。由式(1-47)写出这时的视电阻率:
![]()


![]()
故有



图2-3 广东某地联合剖面成果图


图2-4 AMN∞装置过陡立接触面时的ρAs曲线(ρ1=100Ω·m,ρ2=20Ω·m)
![]()
因为MN→0,则有
![]()

故

显然



图25 ∞MNB装置过陡立接触面时的
剖面曲线

图26 联合剖面法过陡立接触面时ρs的剖面曲线(https://www.daowen.com)
![]()
![]()


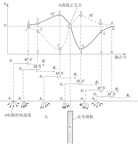
图2-7 直立良导薄板上的联合剖面ρs曲线



图2-8 不同倾角的良导薄板上联合剖面曲线


图2-9 直立低阻厚板上的联合剖面曲线

![]()

图2-10 不同倾角良导厚板上的联合剖面曲线
3.直立高阻板上联合剖面法的ρs剖面曲线



图2-11 直立高阻板上联合剖面曲线(ρ2>ρ1)

图2-12 高阻薄板(倾角为30°)上联合剖面曲线(ρ2>ρ1)

图2-13 高阻厚板(倾角为30°)上联合剖面曲线(ρ2>ρ1)


图2-14 良导球体的联合剖面ρs曲线
当L=3a>h0时,两条ρs曲线的极小值相互靠拢,且在两侧出现一个次级的极小点。这是供电电极A或B过球顶上方时,电流被良导球体吸引,使JMN减小的结果。
当L=10a>h0时,两条曲线逐渐靠拢,以至它们的极小点重合在一起。其低阻带中心对应于球心在地面的投影。这是由于L很大时,球体附近的电场和均匀电场差不多。低阻带两侧L的长度处同样也出现次一级极小值(假异常)。
理论计算表明,联合剖面法探测良导球体的最大勘探深度(以球顶深度计算)不超过球体直径,如果提高观测精度,最大勘探深度也不超过4a。