一、工作方法
频率域电磁法应用于地下管线探查,其工作方法根据场源性质可分为被动源法和主动源法。主动源法又可分为直接法、夹钳法、感应法、示踪法和电磁波法(又称为探地雷达法)。被动源是指工频(50~60Hz)及空间存在的电磁波信号,主动源则指通过发射装置建立的场源。探查人员可根据任务要求、探查对象(管线类型、材质、管径、埋深、出露)和地球物理条件(物性差、干扰、环境)等情况选择使用[31]。
1.被动源法
被动场源由于不需要人工建立场源,现场工作较为简便。国内外许多管线仪设置了被动源探查功能。由于被动源不稳定、激发方式不可变等特点,除对载流(50~60Hz)电缆进行追踪定位外,不能作为精确定位方法。一般只能对存在管线的区域进行盲探,然后用主动源再对地下管线进行精确定位、定深。被动源法有两种方法,即工频法和甚低频法。
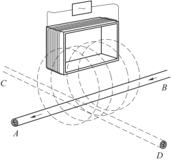
(1)工频法。工频法指利用载流电缆所载有的50~60Hz工频信号及工业游散电流在电缆中的工频电流或金属管线中的感应电流所产生的电磁场进行管线探查。
载流(50~60Hz)电缆与大地间具有良好的电容耦合,在载流电缆周围形成交变电磁场,地下管线在此电磁场的作用下,产生感应电流,在管线周围形成二次磁场,如图4-33所示。工业游散电流同样能使地下金属管线产生电磁异常。通过观测管线电缆周围交变电磁场及管道所形成的二次磁场便可探查地下金属管线,这种方法称为工频法。该法无须建立人工场,方法简便,成本低,工作效率高,但分辨率不高,精度较低,主要用于探查动力电缆和搜索金属管线,是一种简便、快速的初查方法。
(2)甚低频法。甚低频法指利用甚低频无线电台所发射的无线电信号在金属管线中感应的电流所产生的电磁场进行管线探查,如图4-34所示。

图4-33 工频法原理

图4-34 甚低频法原理
许多国家为了通信及导航目的,设立了强功率的长波电台,其发射频率一般为15~25kHz,在无线电工程中,将这种频率称为甚低频(verylowfrequency,VLF)。能为我国利用的电台有:日本爱知县NDT台,频率为17.4kHz,功率为500kW;澳大利亚西北角的NWC台,频率为15.5kHz及22.3kHz,功率为1000kW。
甚低频电台发射的电磁波在远离电台地区可视为典型的平面波。由于发射天线垂直,故磁场分量水平,且垂直于波的前进方向。当地下管线走向与电磁波前进方向垂直时,电磁波对地下管线不激励,则不能形成二次磁场;当地下金属管线走向与电磁波前进方向一致时,因一次磁场垂直于管线走向,管线将产生感应电流及相应的二次磁场。由于一次场均匀,管线所形成的二次磁场具有线电流场性质。其感应二次磁场的强度与电台和管线的方位有关。该方法简便、成本低、工作频率高,但精度低、干扰大。其信号强度和无线电台与管线的相对方位有关,可用于搜索电缆或金属管线。

图4-35 直接法
2.主动源法
主动场源是指可受人工控制的场源,探查工作人员可通过发射机向被探查的管线发射足够强的某一频率的交变电磁场(一次场),使被探管线受激发而产生感应电流,在被探管线周围产生二次场。根据给地下管线施加交变电磁场的方式不同,主动源法又可分为直接法(图4-35和图4-38)、夹钳法(图4-36)、感应法(图4-37)和示踪法(图4-39)。电磁波法(探地雷达法)也是主动源法的一种,但不在下文进行详细阐述(详见第四章第二节相关内容)。
(https://www.daowen.com)
图4-36 夹钳法

图4-37 感应法
(1)直接法。将发射机输出一端接到被查金属管线上,另一端接地或接到金属管线的另一端,利用直接加到被查金属管线的电磁信号,对管线进行追踪、定位。该法信号强,定位、定深精度高,易分辨邻近管线,但金属管线必须有出露点,且需良好的接地条件。直接法有三种连接方法:单端连接、远接地单端连接和双端连接。
1)单端连接。发射机的输出端与管线出露点或阀门连接,另一端就近接地或与窨井壁连接,如图4-38(a)所示。
2)远接地单端连接。将发射机输出端与管线出露点连接,接地端用一导线与离输出端较远处的接地电极相连,且接地条件良好,接地线尽量与管线走向垂直,少跨越其他管线,如图4-38(b)所示。用接收机对管线进行追踪定位,随着探测距离的增加,随时增大发射机功率,以保证金属管线能够产生足够的电磁异常。
3)双端连接。当地下金属管线有两个出露点时,根据场地条件,将发射机两端(输出端和接地端)用长导线连接在两个出露点上,且连接导线与管线相距一定的距离,以减小地面连接对探查效果的影响。这样,发射机发出的谐变电流通过管线与地面连接形成回路,对地下金属管线进行追踪定位,如图4-38(c)所示。
在选用直接法时,不论单端连接还是双端连接,连接点必须接触良好,应将金属管线的绝缘层剥干净;接地电极布置应合理,一般布设在与管线走向垂直的方向上,距离大于10倍管线埋深的地方,并尽量减小接地电阻。管线有两个出露点时,应根据场地条件合理选用。
在管线探查时,接收机应根据发射机设置功率的大小,在大于最小收发距范围内进行,以避免发射机发射的一次场干扰影响探测效果,还可通过测量电流来区分附近干扰管线。

图4-38 直接法连接方式

图4-39 示踪法
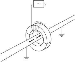
(2)夹钳法。将管线仪配备的夹钳(耦合环),夹在金属管线上,通过夹钳把信号加到金属管线上,如图4-36所示。该法信号强,定位、定深精度高,易分辨临近管钱,方法简便。但管线必须有出露点,被查管线的直径受夹钳大小的限制。夹钳法适用于管线直径较小且不宜使用直接法的金属管线或电缆。探测前先将夹钳与发射机输出端相连,套在管线上,然后用地面接收仪器对管线进行追踪定位。
夹钳的钳体为铁磁材料,钳体上有多圈绕组,绕组的每一圈都是顺着走向正对着管线的上方进行最大的激发。整个钳体的作用,就好似有很多直立的小线圈围着所钳住的管激发,使用时管线直径应小于夹钳直径,以保证有较好的耦合状态。由于管道电缆的直径悬殊,在实际使用时应配有不同内径规格的夹钳。电缆本身与大地具有电流耦合作用,用夹钳法效果好,如图4-40所示。使用时应注意安全,不要碰触夹钳的接头处。当使用直接法探测密集管线时,发射机发射的谐变电流会沿最易传播的路径传播。在目标管线上信号不一定最强;而采用夹钳法,目标管线传导的信号最强,其他管线传导信号较弱,如图4-41所示。

图4-40 夹钳法探测电缆

图4-41 夹钳法分辨电缆线
(3)感应法。它是通过发射机发射谐变电磁场,使地下金属管线产生感应电流,在周围形成电磁场。通过接收机在地面接收管线所形成的电磁场,对地下金属管线进行搜索、定位。当被探的目标管线出露少,不具备直接法和夹钳法条件时,可采用感应法。该法使用方便,不需接地装置,是城市地下管线探查中常用的方法。感应法可分为磁偶极感应法(图4-42)和电偶极感应法(图4-43)。

图4-42 磁偶极感应法

图4-43 电偶极感应法

图4-44 水平偶极子发射
1)磁偶极感应法。利用发射线圈发射的电磁场,使金属管线产生感应电流,形成电磁异常,通过接收机对地下金属管线定位、定深。该方法发射机、接收机均不需接地,操作灵活、方便、效率高,用于搜索金属管线、电缆,可定位、测深和追踪管线走向(图4-42)。利用磁偶极感应法探查地下金属管线时,发射线圈一般有两种方式,即:①水平磁偶感应法,发射机呈直立状态发射,发射线圈面垂直地面,这时发射线圈与管线的耦合最强,可有效地突出地下管线的异常,并可压制邻近管线的干扰(图4-44);②垂直磁偶感应法,发射机的发射线圈在管线正上方呈平卧状态,发射线圈面水平,这时发射线圈与管线不产生耦合,被压管线不产生异常,此方法可压制相邻管线间的干扰,有效地区分平行管线(图4-45)。
2)电偶极感应法。利用发射机两端接地产生的一次电磁场对金属管线感应而产生的二次电磁场,对地下金属管线进行探查。该法一般采用水平电偶极方式发射(图4-46),信号强,不需管线出露点,但必须有良好的接地条件。在具备接地条件的地区,可用来搜索追踪金属管线。工作时用长导线连接发射机两端,分别接地,且保证接地良好。使发射机、长导线、大地形成回路,建立地下电磁场,激励金属管线在周围形成电磁场。选用本法,应根据场地条件,选择良好的接地点,接地导线应尽量与地下金属管线平行,且相距适当距离,以免接地导线电磁信号对接收信号的影响。

图4-45 垂直偶极子发射

图4-46 电偶极感应法搜索地下管线
当采用感应法工作时,电偶极感应法受场地条件及方法本身特点限制,工作中较少采用,但电偶极感应法建立的电磁场信号强,管线异常易分辨。磁偶极感应法建立的电磁场衰减较快,但工作方法简便,不需接地,工效高。在实际工作中,较多利用磁偶极感应法进行地下金属管线探查。
(4)示踪法。示踪法亦即示踪电磁法。在探测不导电的非金属管道时,可采用示踪法进行定位、测深。它通过示踪探头,沿着管道走向移动进行发射,将能发射电磁信号的示踪探头(信标)或导线送入非金属管道内,在地面上用接收机探测该探头所发出的电磁信号,根据信号变化确定地下非金属管线的走向及埋深(图4-39)。该法探测非金属管道,信号强,效果好,但管道必须有放置跟踪探头的出入口。
将探头通过非金属管道的出入口置入管道内,沿管道推进探头,在地面用接收机接收探头所发射出的信号。探头实际上是一磁偶极子,从轴心辐射出一峰值区,在每一峰值端形成回波信号。调节接收机的灵敏度,仔细寻找回波信号及两回波信号间的峰值信号。同时沿垂直管线的方向寻找一最大值信号,以确定管道的正确位置。
地下磁偶极子在地面上的水平分量为
![]()
式中:m为磁矩;θ为磁偶极到接收点的连线与水平地面的夹角;r、h、x的意义见图4-39。
