二、声波测井

图10-39 利用地震测井划分地层实例二
声波测井是弹性波测井的一个分支。它以声电转换装置在地下发射频率为几至几十千赫的声波或超声波(频率超过20kHz的属超声波,所以也称其为超声波测井),同时在井下接收经井壁或井孔间传播的声波,并根据其传播速度或幅度研究井孔和井孔周围的地质情况。声波测井又可分为声波速度测井(简称声速测井)和声波幅度测井、声波全波测井、声波电视测井等。
(一)声波速度测井
1.声速测井原理
声速测井的井下仪器中装有发射器T和接收器R。发射器以脉冲形式发出一系列声波。声波自发射器发出后向各个方向传播,一部分由发射器经井液直接传至接收器,称为直达波;一部分以临界角经井液传至井壁,于是产生了沿井壁传播的滑行波(也称侧面波)。由于井液和井壁紧密相接,在井液中形成了相应的波(在地震勘探中称为折射波),并传至接收器,如图10-40所示。

图10-40 声波传播示意图
1—反射波;2—透射波;3—滑行波;4—直达波
波在井液中以V1速度传播,在岩石中以V2速度传播,且V2>V1。因前述各种波所走过的路径不同,在所走的不同地段上的波速不同,所以它们自声源到达接收器的时间不同。选择合适的发射器和接收器之间的距离(称为源距,以L表示),可以使经井壁滑行的波最早到达接收器,其次是直达波到达接收器,最后反射波才到达接收器。最早到达接收器的波称为首波或初至波。
从声源发出声波到接收器接收到声波所用的时间为Δt,则一般可写为


图10-41 单发双收声波测井
式中:a为声波在井液中传播的路径;b为声波沿井壁传播的路径;t0为声源发出声波的时刻;t为接收器接收到声波的时刻。
井下仪器沿井孔边移动边进行测量。当遇到地下速度不同的岩层时,由于其传播速度V2不同,则测得的Δt发生变化,从而根据Δt的变化推断出岩层发生了变化。这便是声速测井的基本原理。
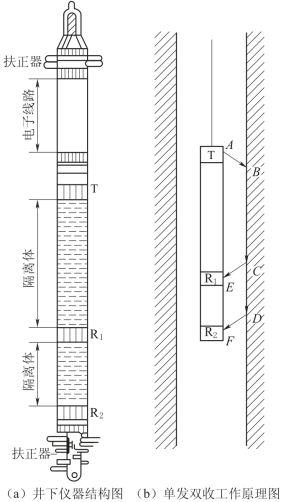
2.单发双收声波测井
按照上述原理,根据测得Δt的变化,可以研究岩层的变化。但尚不能由其求出岩层中声波速度。而且当井孔情况有所变化时,也会引起Δt的变化。为此设计了单发双收声速测井的井下仪器。如图10-41(a)所示,在第一个接收器R1下方增设了第二个接收器R2。
这种井下仪器的发射器T于t0时刻发射的声波,以V1速度向各个方向传播。其中A、B、C、D、E和F分别为声波在传播路径中的不同时间的波长,AB以临界角自井液传至井壁,产生沿井壁滑行的侧面波BC。这侧面波引起的纵波CE传至接收器孔。传至D点的滑行波引起的纵波DF传至接收器R2[图10-41(b)]。
两接收器所接收到的同一时刻发射器发射的声波的时差为Δt,则

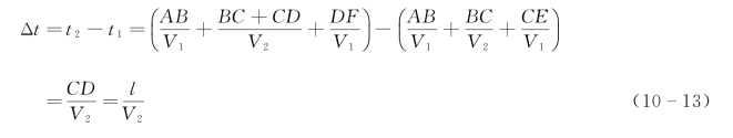
式中:t2为第二个接收器R2收到声波的时刻;t1为第一个接收器R1收到声波的时刻;AB、BC、CD、CE和DF为声波在传播路径中的距离,CE=DF,CD=L,为R1至R2的距离。
在井孔中移动井下仪器,并进行测量。测得井下不同深度上的时差Δt值(μs),记录点在R1与R2之间的中点。由Δt值可根据式(10-13)求出不同深度上的岩层的声波速度(m/s),或者给出测井声波时差曲线图。
3.井眼补偿声速测井原理
利用单发双收声速测井装置,根据式(10-13)计算出岩层速度V2,并按V2变化推断岩层变化时,是假定了井孔直径沿井轴没有变化,且井下仪器纵轴平行井轴。如果井孔直径有所变化,或井下仪器纵轴不平行井轴时,CE≠DF,则Δt的变化不单是由于岩层波速变化引起的,而且还有井径变化的影响和井下仪器倾斜的影响在内,如图10-42(a)所示。为此设计了双发双收井下仪器,其工作原理如图10-42(b)所示。这种仪器在接收器的下部与上部发射器相对称的位置上又装了一个发射器。这种双发双收仪器也叫井眼补偿装置。采用这种装置的声速测井,叫作井眼补偿声波测井。

图10-42 井眼补偿声波测井
如图10-42(a)所示,发射器在接收器上部,装置过大井径下界面时,R1接收器与R2接收器的时差Δt'小于正常时差Δt。而当装置过大井径上界面时,R1和R2两接收器的时差Δt″大于正常的时差Δt(正常时差指无井径变化时,声波沿井壁传播距离为l时所需的时间)。如发射器在接收器下部,装置过井径变化界面处所造成的时差变化情况刚好和上述情况相反。取两发射器发射所测得的时差的平均值,即可消除井径变化的影响,如图10-42(b)所示。同理这种仪器亦可克服由于井下仪器倾斜所引起的误差。
4.声波速度测井的应用
(1)划分岩性和岩石风化带。各类岩石或同类岩石风化程度不同时,声波在其中传播速度不同。通常火成岩波速大,而沉积岩波速较小。沉积岩中不同类型沉积岩的波速也不相同。岩石风化程度不同,波速不同,随着风化程度加深,声波传播速度降低。
图10-43为某水库利用声速测井研究岩石风化程度的实测曲线。该地基岩为片麻状花岗岩。当其完全风化时波速小于2000m/s,强风化时波速为2000~3500m/s,弱风化时波速为3500~5000m/s,微风化带约5000m/s,新鲜岩石波速约达5500m/s。且新鲜及微风化岩石波速高,波速曲线基本稳定在高值上,虽有摆动,幅差小,且呈小锯齿状。弱风化时波速比微风化低,且曲线由基本平直变为尖齿和宽齿状,局部有较高波速值。按上述特征分析了图10-43所给实测曲线。孔深25m以上为弱风化岩带;25~37m段为微风化岩带;37m以下为新鲜岩石,波速基本稳定在5300m/s。
图10-44是利用声速测井曲线划分岩层的实例。某工程输水隧洞,其围岩为张夏组灰岩,其上部是崮山组杂色页岩及灰岩和页岩瓦层。用声速测井曲线划分地层界面取得了较好效果。波速为6000m/s左右的介质为张夏组灰岩,波速为3000m/s左右的介质是崮山组杂色页岩。波速在3000~6000m/s间大幅度变化的是灰岩与页岩的互层。

图10-43 利用声速测井曲线研究岩石风化程度实例

图10-44 利用声速测井划分岩层实测曲线
(2)确定孔隙率。根据实验结果,声波传播速度与岩石孔隙率、孔隙中液体的波速有如下关系:(https://www.daowen.com)

式中:φ为孔隙率;V、Vf、Vm分别为声波在岩石、孔隙液体岩石固体颗粒(统称为岩石骨架)中的速度。
将波速改变为传播时间,有

由此可得到孔隙率φ的表达式:
![]()

当岩石骨架成分(岩性)及孔隙中液体性质已知时,可以确定出Δtf及Δtm,于是有
![]()
式(10-17)为一直线方程。当然使用这一公式确定孔隙率时,必须在岩性相同及孔隙中溶液相同的条件下才有可能得出正确的结论。实际工作中,以相同条件岩性的Δt测量值和岩心孔隙率分析值得出的统计分析为依据,获得经验的直线方程。图10-45为我国某油田某地段的地层孔隙率和时差的关系曲线。该曲线可用下式表示:

图10-45 某地孔隙率-声波时差关系曲线
![]()
(3)根据声速测井资料为工程地质设计提供参数资料,如岩体完整性系数、弹性模量等。
(4)为地震勘探解释工作提供速度资料。根据声波速度测井资料可以计算出不同岩层中纵波速度及各岩层的平均速度等,为地震勘探资料解释提供速度资料。
(二)声波幅度测井
声波幅度测井是沿井孔测量声波在其中传播时信号幅度的大小、变化,以研究井孔剖面、井孔情况的测井方法。该方法在裸眼井中用以研究井孔剖面、井壁附近岩层的变化;而在有套管的井孔中,可以用来检查套管外水泥的胶结质量。
1.反射声幅测井
这是一种用一个换能器兼做声辐射和声接收的一种声波幅度测井。由换能器向井壁垂直发射声波,随后接收垂直反射回来的声波。声波垂直入射时,反射波的强弱决定于反射系数的大小。两种相接触的介质,其波阻抗(Z=ρV)差别越大时,反射系数就越大,声波通过界面所传递的能量越小,反射波越强。如井壁为石灰岩,且其密度、声速都大,反射波就强。井壁为页岩时,其密度、声速都较小,反射就弱。砂岩密度、速度介于石灰岩和页岩之间,反射波强度居中。另外岩石风化、破碎程度不同,以及孔隙中液体性质不同,反射波强弱也不同。因此,可以根据声幅曲线的强弱变化来划分岩性,确定含水裂隙带、破碎带以及解决某些其他工程地质问题。图10-46为利用反射声幅测井实例。利用声幅测井划分了界面位置。
2.固井声波变密度测井
目前,在固井水泥胶结质量检测中使用声波变密度测井(CBL/VDL)替代声幅测井(CBL)。该测井仪器采用单发双收的井下仪器,如图10-47所示。从图10-47可以看出,发射器T与接收器R1和R2的距离分别为3ft[1]和5ft,其中距离3ft的R1只记录全波列的首波幅度[图10-48(a)],即传统的声幅测井主要用于检测固井第一界面的水泥胶结质量,结合套后水泥密度测井还可以评价微环隙;距离5ft的R2只记录全波列[图10-48(b)],即为变密度测井(VDL),可以用于检测固井第一、第二界面的水泥胶结质量。从发射器发出的声波向各个方向传播。接收器最先接收到由滑行波在井液中引起的纵波。当套管外水泥胶结得很好时,能量大部分传到水泥胶结物上,接收器接收到的能量(幅度)很小。如套管外胶结的不好,或没有水泥胶结,沿套管传播的声波衰减很小。接收器接收到的声波幅度较大。于是可以通过所测声波幅度大小来确定套管胶结好坏。

图1046 利用声幅测井曲线划分岩层界面
Ar—反射声幅测井曲线;γ—伽玛测井曲线

图10-47 固井声幅测井原理图
根据实验结果,将没有水泥胶结的情况下所接收的声幅作为100%,则水泥胶结好时,声波幅度低于15%;中等胶结时声波幅度为15%~30%(有的地方用20%~40%);胶结差时声波幅度大于30%(或40%),如图10-48(c)所示。如果采用水泥胶结指数BI,即

图10-48 声波变密度测井波形图

式中:Amax为自由套管的声幅值;Amin为全胶结的声幅值或最小声幅值。
BI>0.8时,水泥胶结良好;BI<0.4时,水泥胶结差;BI=0.4~0.8时,水泥胶结中等。
图10-49给出一应用声幅测井确定固井质量好坏的实测曲线。固井声波变密度测井效果好坏与源距、测井时间的选择有关。目前国内一般在浇注水泥后20~40h进行测井效果较好。测井时间过早,所测幅度偏高,导致误以为固井质量不高;而测井时间太迟,所测数据偏低,会误认为固井质量好,引起判断失误。此外,固井质量可能会随着时间发生变化。在图10-49中,2天后的变密度测井图仅见到地层波,表明第一、二界面胶结都是良好的;7天后变密度测井结果中,在上部出现了套管波,为第一界面胶结变差,中下部出现了二界面特征波,为第二界面胶结变差;15天后,上部出现套管波的范围变大。

图10-49 固井声幅测井曲线
(中石油大庆测井公司提供)