声波仪的基本原理
(一)声波仪主要部件及功能

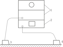
图8-1 声波探测装置图
1—发射机;2—接收机;3—发射换能器;4—接收换能器
声波技术的理论基础是弹性波理论。在此基础上所研制的声波仪由发射系统和接收系统两部分组成(图8-1)。其结构和工作原理简介如下。发射系统包括发射机和发射换能器,由发射机(一种声源信号发生器)向换能器(压电材料制作)输送电脉冲、激励换能器的晶片,使之振动而产生声波,并向周围岩体发射。于是声波在岩体中即以弹性波形式传播,然后由接收换能器接收后转换成微弱的电信号送到接收机,然后经放大后在终端以波形和数字形式直接显示声波在岩体中的旅行时间t。根据发射和换能器之间的距离l,由公式V=l/t,计算出岩体波速。
国内常用的声波仪有YB-4型及SYC-2型岩体波速仪。
发射换能器的功能,是将发射机送来的电能转换成弹性振动形式的机械能,从而产生声波;接收换能器的功能,则是将收到的岩体中的弹性波转换成电能,然后输送给接收机。因此它们是声波仪的重要组成部分。
目前在岩体声波探测中使用的是电声换能器,最常用的是由压电效应的材料(天然晶体或人工制造的极化多晶陶瓷等)制成的压电换能器。其他还有多种型号和式样,应根据测试条件和要求加以选择。接收换能器中常用的是单片弯曲式;发射换能器多用喇叭式。另外还有为测试横波而研制的横波换能器。下面以喇叭式换能器为例,简介换能器的工作原理。
喇叭式换能器的结构如图8-2所示,主要由晶片、辐射体及配重三部分组成。用粘接剂将这三部分粘合,并用螺栓旋紧,使其能承受较大的功率。晶片为圆形,由压电陶瓷制成,其前端的辐射体为喇叭形的铝合金硬盖板,可以使压电陶瓷受激振动后所产生的声波向岩体单向发射。喇叭式换能器具有单向辐射性能,指向性能较好,机械强度高,还能承受较大功率,因此多用作发射换能器。
(二)声波探测的现场工作方法

图8-2 喇叭式换能器结构示意图
目前,主要是利用纵波进行波速测定,最常用的有直达波法(或直透法)、单孔初至折射波法和反射波法,如图8-3所示。图8-3(a)中的对穿直透法是将发射和接收探头放置目标体的两侧,记录直达波。图8-3(b)为同侧直达波法,是将发射和接收(两个)探头放置目标体表面,记录两个直达波的旅行时间差,可以提高探测结果的横向分辨率和消除目标体表面不规则的影响。图8-3(d)中的双孔直透法需要将发射和接收探头分别放置在两个井孔中。图8-3(c)和图8-3(f)分别为单孔一发双收和单孔双发四收装置,测量纵波临界入射的滑行波,可以获得沿井孔剖面的纵波波速,采用多发射或多接收探头记录时间差,可以消除井轴偏离垂直方向和井壁不规则的影响。图8-3(e)为单孔反射波法,可以是图中的单发射多接收,也可以使用旋转式自激自收探头,能够获得井壁360°的信息。此外,反射波法目前仅用于井中超声电视测井和水上的水声勘探。

图8-3 常用的几种声波测试现场工作方式示意图(https://www.daowen.com)
(三)纵横波的识别及波速的测定
为了求得在岩体或岩石中的纵波和横波的波速等参数,首先必须要在接收机荧光屏上正确地区分出纵波和横波,并分别读出它们的初至时间值。一般来说,由于纵波波速大于横波波速,所以纵波比横波先期到达,这样纵波的初至是比较容易读取的。如遇初至不清时,可利用记录波形中的相位校正求出初至时间值。横波由于其波速小于纵波,故在荧光屏上的波形往往叠加在纵波的续至区中,不易辨认。
只有当岩体比较完整,在传播过程中声波的反射、散射不严重,直达波形比较简单,使用的工作频率较高,纵波的延续时间τ小于0.7tP(tP为纵波初至时间)时,纵波和横波才能清楚地分开(图8-4)。
![]()
图8-4 纵波与横波的波形

图8-5 纵波与横波分离
为了识别在记录中的纵横波,可以增加横波的能量和抑制纵波的延续度,并适当增大发射换能器到接收换能器之间的距离l,如图8-5所示。只要纵波初至tP与横波初至tS之间间隔Δt大于纵波延续时间δt,即Δt>δt时,纵波与横波就可以分开。由图8-5可知:

此式表明,在VP和VS不变的条件下,Δt与l有正比关系。令
![]()
代入式(8-1)便得

在理想弹性介质中,如坚硬完整的岩体,当其泊松比等于0.25时,横波与纵波到达时间关系大致为tS=1.73tP,而在破碎岩体中,则tS>1.73tP。