理想导体的充电场
1.单一导体的充电场
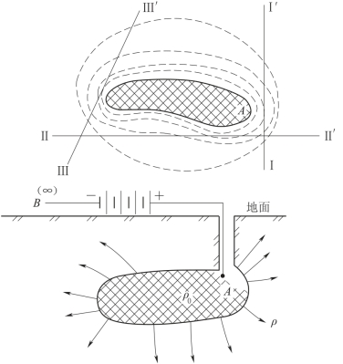
若充电体电阻率明显低于围岩电阻率,在良导均匀的理想条件下,理想导体充电后,电流在导体内部不产生电位降落,导体表面各部分的电位处处相等,并等于充电点A的电位,这样的导体可认为是等电位体。流出的电流垂直于导体表面,经过围岩流向无穷远处,在围岩中形成充电电场(图3-18)。在围岩中,由于它的电阻率比导体高得多,因此,电流流经围岩时将产生明显的电位降落。计算和测量结果表明,在充电体附近的等电位线形状和导体截面形状相近,远离充电体的等电位线形状逐渐趋于圆形。

图3-18 充电法原理图
图3-19是充电体上沿不同方向剖面观测的电位及梯度剖面曲线。沿图3-18中Ⅰ—Ⅰ'剖面观测相当于在直立薄脉状导体上观测,电位曲线在脉顶正上方出现极大值,向两侧逐渐降低且左右对称。梯度曲线反对称于原点,在脉顶上方梯度值为零,脉左侧出现极大值,脉右侧出现极小值。当其埋深相对于导体规模不很大时,导体顶部深度h与梯度曲线两极值间距P有下列近似关系:(https://www.daowen.com)
![]()
当观测剖面通过导体中心沿走向布置时(叫主纵剖面),充电场的电位曲线在导体顶部上方出现比较平缓的极大值,在导体两端附近,电位曲线急剧下降,曲线形态依然左右对称[图3-19(b)]。梯度曲线于导体顶上方皆为零值,左端为极大值,右端为极小值。若埋深h已知,则可根据主纵剖面上梯度曲线两极值点间距P求出充电体沿走向的长度L:
![]()
图3-19(c)相当于倾斜产状导体的剖面曲线。电位和梯度曲线都不对称:电位极大值和梯度零值点位置自充电体顶部向倾斜方向位移;充电体倾向一侧的电位曲线较缓、梯度极值幅度较小,反倾向一侧电位曲线较陡、梯度曲线极值幅度较大。

图3-19 不同方向剖面的充电电位及梯度曲线
不难理解,如果充电体为球形导体,电位和梯度曲线异常形态将不随剖面方位不同而改变。电位等值线的平面分布特征为一簇同心圆形。

图3-20 两相邻而不相连的良导体上的电位梯度异常曲线
2.相邻导体的充电场
两相邻而不相连的良导体上的电位梯度异常曲线如图3-20所示。在两导体露头连线的剖面上,对导体甲充电观测电位梯度,异常曲线为实线,梯度零值点位于充电体甲的上方附近。由于导体乙的存在,零点值左右两侧的梯度值幅度明显不同:导体甲左侧的极值幅度较小,而两导体间的极值幅度较大。当对导体乙充电时,梯度异常曲线为虚线,梯度零值点位于充电体乙的上方附近。由于甲导体的存在,两导体之间的梯度极值幅度明显大于乙导体右侧。
若甲、乙露头在地下深处为相连的同一导体,分别对甲、乙充电时,观测到的电位梯度曲线形态一致,几乎重合。
经验表明,充电体与围岩电阻率的比值小于1/200时对充电法工作有利,可将导体近似看作理想等位导体,否则便是不等位导体。在不等位体上作充电法,其曲线较复杂。