6.3.2 施工组织程序
2025年10月13日
6.3.2 施工组织程序
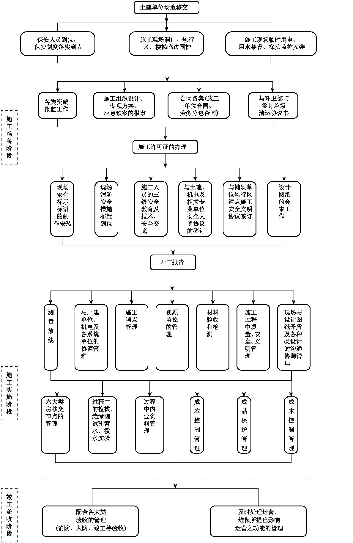
装饰工程管理流程如图6-1所示。
1.施工准备阶段
(1)土建单位场地移交。
(2)保安人员到位,保安制度落实到人。
(3)施工现场洞口、轨行区、楼梯临边围护。
(4)施工现场临时用电、用水架设、探头监控安装。

图6-1 装饰工程管理流程图
(5)施工组织设计、专项方案、应急预案的报审。
(6)各类资质报监工作。
(7)合同备案(施工单位合同、劳务分包合同)。
(8)与环卫部门签订垃圾清运协议书。
(9)施工许可证的办理。
(10)现场安全标示标语的制作安装。
(11)现场消防安全措施布置到位。
(13)与土建、机电及相关专业单位签订安全文明协议。
(14)与铺轨单位轨行区请点并签订施工安全文明协议。
(15)设计图纸的会审工作。
(16)开工报告。
2.施工实施阶段
(1)与土建单位、机电及各系统单位的协调管理。
(2)测量放线。
(3)现场与设计图纸矛盾及各种类设计的沟通协调管理。(4)施工请点管理。
(5)视频监控管理。
(6)材料验收和检测。
(7)施工过程中质量、安全、文明管理。
(8)六大类房移交节点管理。
(9)过程中的拉拔、绝缘测试和蓄水、泼水实验。
(10)过程中内业资料管理。
(11)成本控制管理。
(12)成品保护管理。
(13)关键分部/部位验收管理。
(14)与运营交叉施工管理。
3.竣工验收阶段
(1)配合各大类验收的管理(消防、人防、竣工等验收)。
(2)及时处理运营、维保阶段提出的影响运营之功能的管理。