17.3.1 施工准备阶段

17.3.1 施工准备阶段

(1)建设单位组织设计联络会,设计单位、垂直电梯厂家参加。电梯厂家提供设备参数,设计院确认并协调相关各专业设计(如供电、FAS/BAS、通信等)。

(2)设计单位根据工程进度完成垂直电梯设备施工图,施工图包括垂直电梯数量、位置、层站等相关安装尺寸。

(3)垂直电梯施工单位根据垂直电梯施工图及合同,现场核对数量及相关安装尺寸。

(4)垂直电梯施工单位根据土建进度及土建施工计划制定相应排产计划,由建设单位确认后排产。

(5)施工单位编制施工组织设计方案,由监理单位审核批准后施工。

(6)监理单位对准备出厂的垂直电梯设备按照合同、图纸及相关规范及标准进行出厂抽样检验。

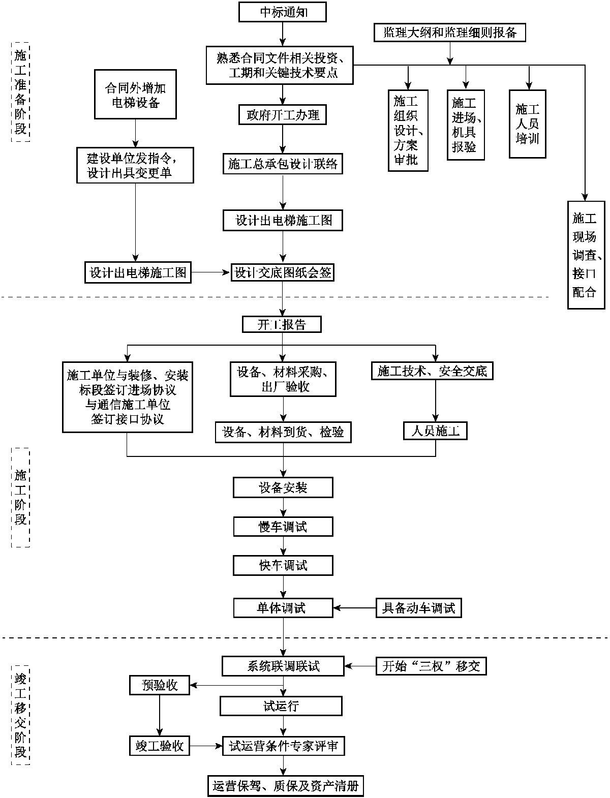
图17-1 垂直梯施工管理系统图

(7)施工单位对土建井道结构复测,根据电梯施工图,确认是否满足电梯安装要求,如有问题,应先核对电梯施工图和土建施工图。