3.3 用于难以耕作的土壤的犁
在罗马时代,当地中海人的生活与阿尔卑斯山外的欧洲第一次密切接触时,犁的设计开始被修改,以适用于更难以耕作、更有黏着力的土壤。这种土壤不能像沙性土那样很容易地翻到边上,为了得到适当的耕作深度,犁必须既能切开又能翻过生草土。在地中海人的耕作中,这本身并不是一个新的概念,他们的犁时常用来为犁垄培土以盖住种子,但在黏性土质上耕作就完全不同。水平耕作土壤的犁铧已经使用了将近1000年之久,尽管直到罗马时代,犁上才出现前小犁或竖直的犁刀。然而,即便是这些安装有竖直犁刀和水平犁铧的犁,仍然不能耕翻生草土。
切开生草土翻到一边,然后经过犁、耙、用木棍拍打或者风化晾干,使土壤松散,这在当时被认为是足够了。一种主要在罗马北部地区用来翻开生草土的犁,是从简单的地中海犁发展过来的。罗马人的犁带有伸出的木条或从犁铧向外张开的土翻,仅仅是用来将土翻到一边(图49)。这些土翻当时被制成一个伸出的板翼,生草土由金属犁铧上的翼耳来引导,松散土块被翻向这一边或另一边[3]。随着犁的移动,保持犁向一侧倾斜,使土块有一定程度的翻转。在犁的底脚上加上了一条龙骨,以利于犁的倾斜(图50)。

图50 (A)来自萨赛克斯的罗马—不列颠犁模型。其上有龙骨,注意犁的承口形式。(B)喜马拉雅山脉的现代耕种,带龙骨的犁在倾斜耕作。
在罗马时期的遗址上发现的许多大的铁质犁刀是非对称的,刃通过只捶打一侧锻造而成。后来的磨损表明,它们只用来切开犁一侧的生草土(一般是右侧)。铁质犁铧不是很宽,或是用来作为宽大木制犁铧的保护尖头,或是用来将犁垄整理成斜的。这样,这些即使以现代标准看也相当大的犁垄,都可以一次开垦出来。重的铁制犁刀揳在板条里,犁梁必须非常粗壮,能够承受相当大的应力,即使应力会被板条减弱。犁刀和犁铧安装在一个长方形框上,与地中海人用的不同。它具有一个近乎水平的犁梁和犁铧,一根支柱和犁铧后面的支撑条连接在一起,这种框形在许多中世纪的犁中可以见到。这样的铁器如此沉重,说明在罗马时代存在某些同样粗壮强大的农具。在丹麦策默比附近泥沼地中发现过一节这种形式的犁框,犁梁和支撑条成为一体,像一个自然弯曲的木梁,在朝向地面一侧用卵石填充作为保护(图47)[4],它可能是前罗马时期或者罗马铁器时代的产物。
策默比犁的悠远历史[5]和罗马作家们的文章,都表明这种形式的重犁是由北方原始人为开垦耕作困难的土壤而开发出来的,而不是源于罗马人的构思。由于有翻土犁板作为草泥土翻板(边码89),翻转泥土的力来自拉犁者,使得这种犁可以用来耕作更难耕作的土地,单纯倾斜式犁是现代牵引式犁的真正雏形,它在中世纪的过渡形式对于难耕作土壤的大规模耕作起到重要作用,正是这种耕作极大地改变了温带欧洲的面貌。
犁的轮子 犁的轮子已经被赋予了一个不恰当的突出位置,因为普林尼提及它们曾在巴伐利亚使用过。实际上,这仅仅意味罗马人知道了带有轮子的犁。虽然轮子经常被设想成是存在的,但它绝不是重犁的主要特征。例如,罗马时代不列颠的长犁刀仅含有一个主梁,一对轮子只是用来支撑梁的一种方式。梁也可以像更近的时期那样用轭来支撑,或者非常简单地支撑在一个滑行的底脚上,例如一份约1300年的法国手稿中所见的那样(图51)。对照着一串木销孔,梁下方的轮子被安装在不同的位置上,像后期的犁那样可以对耕作深度作出有实用价值的调整。在11世纪之前,几乎没有证据显示带有轮子的犁得到了任何广泛的使用,此后它们才开始出现在北欧的手稿插图上(图52—53、图57)。毫无疑问,带轮子的犁从来没有得到广泛的认可,无轮子的犁(图54—55)则由于造价低以及对黏质土壤和多石土壤的更广的适应性,一直在被使用着。在许多农场,两种形式的犁都需要。

图51 有底脚的犁。
拉梁前部有带底脚的木腿支撑,底脚滑行在犁刀和犁铧前未耕作的地面上(参见图56)。出自法国的一本装饰精美的祷告用诗篇,13世纪。

图52 带轮子的单向犁。
注意犁刀用木楔和皮带固定,可以移至这一侧或那一侧。还有可以拆卸的“耳”,它可以放在犁座的任何一侧。出自一张10世纪的月份牌。

图53 带轮子的犁。注意拉梁和拉杆之间的柔性连接。摘自兰茨佩格的埃拉达(Herrad ofLandsperg)的著作《快乐花园》(Hortus deliciarum),约1170年。
泥土翻板 这是温带欧洲重犁的一个有特点的部件,用来引导切开的生草土块并将其翻转过来。它不同于土翻,土翻的作用是清理垄沟。泥土翻板在11世纪还不被人们所知(图54—55),而且也没有任何中世纪资料细致描述它们的制造。在更近的时期,泥土翻板由木质更为光滑的木材制作,例如苹果树、梨木或桃木,比起用粗木质材料(如榆木或栎木)制成的泥土翻板,它们更易使生草土滑过。

图54 带板翼的犁。
摘自《勒特雷尔圣诗集》(Luttrell Psalter)。图中展示出大型泥土翻板,可以将由犁刀和犁铧耕开后的生草土翻转过来。注意用于调整和紧固楔钉的木槌。约1338年。
这种重要翻土部件的应用,可能由于弯曲部分的设计不完善而被推迟了。制犁匠的经验和个人偏好,无疑导致了泥土翻板形状的某些变化,即使在18世纪,人们仍然可以见到表面有角度或弯曲的泥土翻板。最佳形状的泥土翻板是由杰斐逊(Thomas Jefferson,1743—1826)设计出来的,他是美国第三任总统。

图55 带泥土翻板的犁。
摘自一本英文版的《圣经》。注意,耕畜中有毛驴。14世纪初。

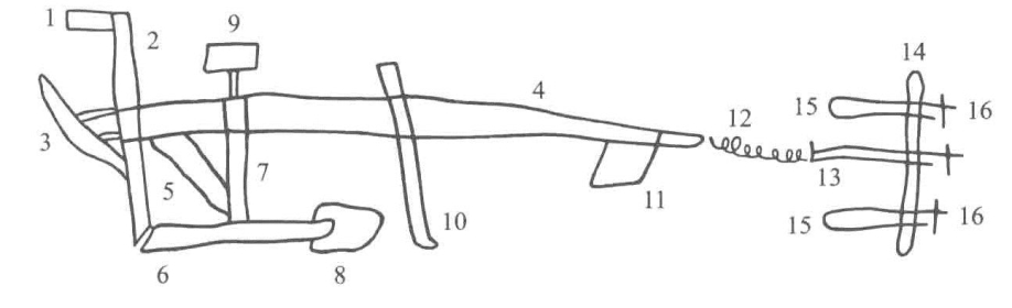
图56 13世纪书记员绘制的犁的示意图。
用拉丁文书写的部件名称,现用数字替换:1.把手;2.犁尾;3.操作把手,由两块横档装配在犁尾上;4.犁梁;5.耳;6.铧梁即“犁头”;7.鞘;8.犁铧;9.木槌,即“犁槌”;10.犁刀;11.犁脚,一个可以调整的铁件或木件,安装在梁的前部,用来调整犁作的深度;12.拉绳;13.拉杆;14.轭具;15.牛轭;16.栓。
除了手稿插图的记载外,还有一些记账员绘制的中世纪犁的示意图,上面很实用地对犁的部件加了标记。记账员这样做是为了方便地找出不断出现在账目中的项目,并不是第一手绘制的(图56)。在中世纪,经常可以见到木槌或犁槌插在犁梁上一个特定的孔中,大概是用来紧固犁的楔钉(图54、图55)。
耕畜 在早期的近东和希腊,虽然偶尔也使用驴(第Ⅰ卷,边码340),但通常还是使用一对牛作为拉犁的耕畜,轭具横跨在牛角或颈上,有时挽绳直接拴在牛角上。只有在农业发展的最早期,人力拉犁才是必要的。罗马社会一般也用一对套在杆上的牛做耕畜,在罗马帝国的某些地方,重犁的发展要求使用四头耕畜,北部原始人中可能还使用过更多头牲畜拉犁。在丹麦,铁器时代的简单的犁上有一个犁轭,耕畜拉犁的挽绳拴在上面,这比起套在犁杆上给了耕畜更大的自由度(图46)。虽然凯尔特人相当多地使用挽绳和犁轭技术,并同时使用犁杆和轭具,但在中世纪前并没有这些技术被广泛使用的明显证据。

图57 犁地和耙地的场面。
注意方形耙具。取自贝叶挂毯,11世纪。