18.2 希腊的机械
在公元前6世纪前的希腊,机械装置和古代帝国时期基本类似,只是由于金属加工工艺的引入带来了少数简单工具(如夹子和钳子)的改进。从公元前6世纪到公元前4世纪,希腊的机械化进程令人瞩目,这与希腊文化中航海和戏剧带来的技术发展相关。舞台和船只都使用了某种非常相似的机械,滑轮及其不可缺少的补充物绞盘都体现了它们的特征。滑轮是绕有绳子的中凹的轮子,绞盘则是安有杠杆手柄的可以旋转的鼓型圆桶,并能够以水平轴或垂直轴的不同形式得到应用。特定的戏剧——特别是欧里庇得斯(Euripides,公元前480?—前406?)的戏剧需要大量的机械,因为在这些戏剧中,神常常要降临到舞台上,就像从天堂来为人间解除困扰。这就是the theos ek mēchanēs,deus ex machina,在萨莫萨塔的卢西恩(Lucian of Samosata,120—180)的讽刺习语中,称为“来自机械的神”。机械在戏剧中的首次使用可能是在公元前427年,但我们无法确定滑轮和绞盘首先应用在戏剧中还是在船只或造船中。在公元前5世纪的希腊外科著作中,记录有对断掉的肢体进行拉伸整型的方法。这种方法涉及绞盘却没有涉及滑轮,这似乎表明绞盘是在滑轮之前出现的。
船只建造技术在这一时期的发展,证明了当时的加工木材工具已经非常先进了(边码563—567)。在公元前6世纪,在某些文献中记载的木材车削车床就出现了。螺丝钻也是在公元前5世纪发明的,它是一种用曲柄旋转的钻孔工具,中世纪的样式显示在图359中。弓形钻(图571、图204、图206)出现在这一时期的希腊,其中钻头靠轮轴上的弓弦带来的摩擦力来带动。毫无疑问它来自埃及,因为在壁画装饰和现实中都有描述(第Ⅰ卷,图112、图487—489)。传输的动作交替进行,但这不影响它的用途。
螺丝钻能把圆周运动变为沿旋转轴的直线运动,这是与螺旋相关的。事实上,螺旋在阿基米德(约公元前287—前212)之前就已经出现,但曾经被人们误认为是阿基米德的发明。它可能是他林敦的阿奇塔斯(Archytas of Tarentum)——一位毕达哥拉斯学派的哲学家和数学家(约公元前400年)发明的,虽然证据并不可靠(边码677)。

图571 希腊的橱柜制作者使用弓形钻给箱子盖打孔。出自公元前5世纪的一个希腊花瓶。
追踪螺旋的起源和历史,有一个疑问就是早期的螺旋是如何制造出来的。螺旋本身是一个非常古老的产物,在新石器时代的纪念牌牌面上就曾发现过,例如在马耳他(公元前2000年)。毫无疑问,这些螺旋线是用系在皮带上的炭棒描画的,皮带的另一端在需要刻画的表面凸出的立柱上绑牢。这种图形也暗示了螺丝钻的螺旋线刻绘方法,许多软体动物的外壳提供了原型。然而,这种螺旋线不同于古代机械上的螺旋线,它是刻在圆柱体上的,而不是刻在锥形体上的。
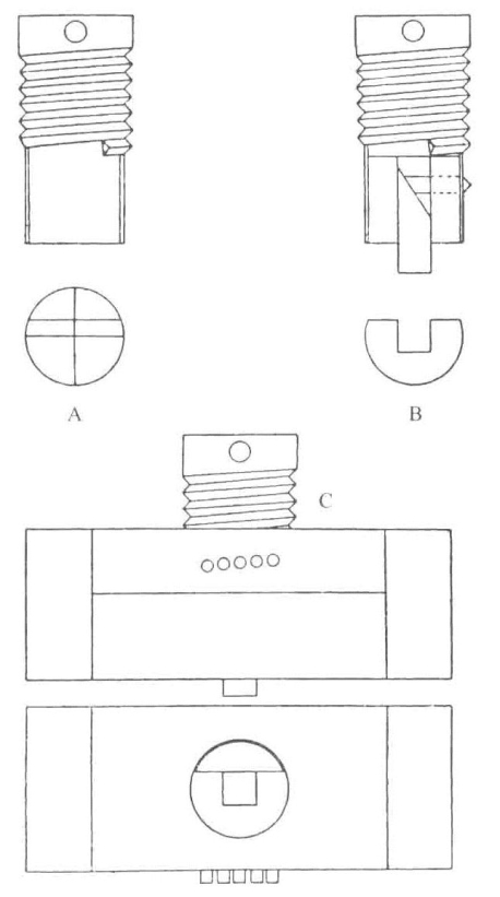
最早的圆柱体上的螺旋线显然画在木头上,就像在庞贝城(图193)发现的用模子压制的和描绘的图形一样,大多数图形被希罗(图87和图572)讨论过。然而,古代人早就知道金属的螺旋线。有了像希罗的角度仪这样精确的工具,便保证了切割的完美和精确。达到这种精确程度的方法是广为人知的。将一张直角三角形的软金属片包裹在一个圆柱上,使直角三角形的一边和圆柱的轴线平行,直角三角形的斜边就会在圆柱体的表面上形成一条螺旋线,成为用锉刀、凿子或者圆凿刻螺旋线凹槽的基准。螺旋线的一部分刻好以后,金属三角形沿圆柱体移动,螺旋线就得到了进一步的扩展。螺旋线可以由多条线组成,因而一副螺旋也可以有两条或多条螺线。运用同样的方法,我们可以在轮子上刻出倾斜的轮齿,这样的轮子实际上是带有螺纹的短螺旋。

图572 希罗螺纹切割机的复原图。
(A)凸螺纹的侧视图和底视图。其上部有一个用来安装手柄的孔,下部有一个光滑的短钉(B,上)短钉上刻有凹槽,嵌有一个铁切割器(注意倾斜的切割边缘),它将连续地沿边缘切割螺母的螺纹线。(B,下)短钉的底视图。(C,上)嵌入切割器后,带有短钉的凸螺纹插入平板的洞中。平板侧面有5个小短钉,形成临时的螺纹,来引导切割器。第二板子也有一个钻孔,内螺纹在这块板上被切割出来。(C,下)正在工作的螺纹切割器的底视图。注意在制造替代品的第三个楔头被锯后的样子。
在公元前4世纪的希腊,机械学相当发达,促使数学分析开始形成。依照第欧根尼(Diogenes Laertius,3世纪)的观点,阿奇塔斯——螺旋的所谓发明者——是第一个把几何学应用到机械学中的人。柏拉图确实曾经斥责过这位早期的毕达哥拉斯派的学者(主要活跃于约公元前400年),因为他试图借助机械工具来解决特定的几何学问题。实际上,毕达哥拉斯学派的学者是希腊思想家中最接近实际和经验的一派。古代的学问与实际相脱离,陷入了形式主义的歧途。杠杆的数学理论起源于公元前4(?或前3)世纪伪亚里士多德著作《机械》(边码630),这部书里包括35个与杠杆有关问题,其中许多探讨不是理论方面的,而完全是实际问题。
叙拉古的阿基米德(约公元前287—前212)是古代在力学方面最伟大的代表,也是自古以来最伟大的数学家之一,更是通过提出实际明确的问题来推动科学发展的第一位科学家。像毕达哥拉斯和阿奇塔斯,也像在他之前的埃及和巴比伦的观察家,更像在他之后的达·芬奇和伽利略一样,阿基米德是一位几何学家,因为几何学是技师的科学。他对静力学的研究揭示了杠杆的基础理论和重心,对于那些试图建造具有明确用途的机械的人有着重大的帮助。阿基米德的这些几何学研究非常重要的——如果我们信任普鲁塔克(46—125)——这些理论使得他能够进行计算,例如使用特定的作用力提起给定的重量需要多少组滑轮,从而知道如何计算机械带来的效益,而不是仅仅知道提升装置多么重要。
传说阿基米德发明和建造了许多机械装置,特别是军事机械(边码604、边码699、边码714)。不过,这些装置曾经存在的证据却含糊不清。唯一确实存在过的是和他的名字相联系的灌溉用的阿基米德螺旋(边码677)。在传说中,人们将一项古埃及就已经在使用的发明错误地归功于他。
阿奇塔斯和阿基米德倡导对机械进行更精确的研究,其他人也如此,特别是在亚历山大城。公元前3—前1世纪,亚历山大学派在力学领域相当活跃。然而,与其说学派的成员是有实际经验的人,不如说是一些理论家。虽然他们确实在解决专业技师提出的问题,但是好像很少参加实际的机械建造工作,很少将机械装置作为自己的发明公布出来。一部分机械装置是更早的时候发明的,虽然已经无法确定发明的确切时间。大多数时候,这些机械装置仅应用于没有实际用途的科学玩具上,例如,有时被称为蒸汽涡轮远祖的汽转球。蒸汽沿轴线被导入一个转动的球形容器,这个球体连接着两根相互缠绕的管子,从管子中喷出的蒸汽会驱使圆球转动。当然有时也有例外,例如拜占庭的菲洛(见注释,边码708)以及亚历山大的数学家和技师,他们对实际使用的机械装置比对理论概念更感兴趣。
克特西比乌斯(Ctesibius,见注释,边码708)是亚历山大城的一位早期的机械技师,他发现了空气的弹性。他似乎还发明了压缩空气兵器,以及在下一个世纪中得到实际和有效应用的吸入—加压式水泵。人们通常还认为,他设计了两个特别的装置,分别是漏壶(第Ⅰ卷,图48)和水力风琴(图573,边码634)。
埃及人已经知道使用压缩空气向火中鼓风(第Ⅰ卷,图383),但是,从这种初期装置到制成有气缸和活塞的金属泵意味着巨大的进步实际上,这样的泵尽管在古代就经过了实际验证(图574),却没有经常被提及,也没有发现实物,即使在中世纪也不常见。直到特定运动的转变问题得到解决之前,气缸和活塞一直无法在水泵中得到有效而广泛的使用。

图573 希罗的水力风琴——源于克特西比乌斯的发明。手工操作的活塞泵将水压入右侧部分,空气通过左侧的调节阀进入到各个管道中。

图574 菲洛的综合抽水、压水泵,带有入口阀和出口阀。
因为压水泵和抽水泵必须同进口阀和出口阀相配合,古代的机械技能又无法加工出今天使用的经过改进的阀门,那时的工匠便只能局限于采用有些独创性的权宜之计。他们使用皮革弯管,就像后来帕潘(Papin,1647—1712)采用的那种,但最常见的方法是在泵的气缸底部的4个销子中安装一个可以滑动的小金属盘。销子的头部被压扁了,以防止金属盘滑脱。气缸中的压力使得金属片堵住进水口并实现密封,当压力消失时,金属片沿销子返回,让水自由进入。
克特西比乌斯之后,最著名的机械技师是亚历山大的希罗(见注释,边码708),他的许多作品都被保存下来。像他的前辈一样,希罗致力于研究与机械相联系的理论问题。他继续了阿基米德的工作,研究重心理论、平衡的一般理论和条件,以及5种简单机械的运动(边码629、边码660),并将这些理论简化为杠杆原理和转动原理,或者是这两种原理的结合。他记录了轮轴结合给机械带来的好处,特别是齿轮和传动装置。他讨论了许多阿基米德提出的问题,例如涉及在一定作用力下移动一定重量的齿轮和其他装置问题,并且提出了最简单的解决方案。
在阿巴斯王朝的哈里发艾哈迈德·伊本·穆塔西姆(Ahmad ibn Mu'tasim,833—842)的命令下,希罗关于这些主题的论文被译成阿拉伯文。希罗的其他著作涉及战争工具、时钟、压气机和螺旋的加工(图572),其中一本介绍了自动装置。这些装置有的单独工作,有的因戏剧而组合起来(图573、图556)。关于这些自动装置的说明是很有趣的,它第一次介绍了某些构件——正是这些构件形成了以后机械学的基础,其中有曲柄、凸轮轴和带配重的旋转系统(图575)。此外,希罗的一些机械装置还涉及真空原理和水的不可压缩性(图576)。

图575 希罗的打开寺庙门的装置,当祭台上的火点燃时,祭台上的膨胀的热气体将水从容器中压到水桶内,水桶下降,通过绳索带动门轴转动,打开大门。
我们有理由相信希罗对以后的实践者有重大的影响。例如,戏剧演出中的自动操作在希腊和罗马帝国广泛传播。现存大量的希罗著作在中世纪的抄本,显示了他的著作的普及程度。有迹象表明,这些保存下来的版本都是实用的版本,包含理论论文的手稿已经绝迹了。希罗的许多设想被阿拉伯人所采用,充满生气的自动装置制作者行会在阿拉伯世界一直持续到16世纪。

图576 希罗应用注射器原理的放血用的火罐瓶。
在众多机械概念的使用者中,希罗只是其中一个。绝大多数人是战争工具的制造者,例如拜占庭的菲洛(约公元前200年,图639—641)、阿波罗多罗斯(2世纪)和罗马的韦格提乌斯(约383—约450),维特鲁威(主要活跃于约公元前27—公元14)也是杰出的机械制造者。亚历山大学派又持续了4个世纪。帕普斯(Pappus,约300年)是学派后期成员之一,也是传动装置计算研究的作者,提出了在斜面上拖动给定重量所需力的相关知识。可以认为现代机器的实践起源于亚历山大城,因为亚历山大学派代表了一种转变,从仅仅包括杠杆初级结合的简单机械装置,到可以用“机械”相称的更加复杂的设备的转变。