20.2 罗马时期(约公元前200—公元400)
最初,罗马的士兵与希腊一样,都是武装的百姓,后来才成为职业军人,甚至还从荒蛮部落招募雇佣军,主要任务是击退其本部落的进攻。在罗马时期的最后阶段,罗马军团已经失去了传统特点,越来越多地依赖从对手那里模仿来的武器和技术手段。
罗马是在战争中成长壮大的。大约公元前300年,罗马人称霸南意大利。公元前270年,吞并了那里的许多希腊城市;公元前240年,将迦太基人赶出了西西里岛。到公元前2世纪初,罗马作为一股强大力量出现在地中海地区,它的军团有相当数量的装备和精确的组织管理,这些一直维持到罗马帝国后期。
亚历山大率领骑兵在亚洲驰骋的时候,罗马人还只是在欧洲作战。罗马军队的主体是步兵军团,而且保持了很长时间。这是一支由4000—6000人组成的队伍,有效作战单元最初是由60名士兵(后来是120人)组成的支队。作战时,军团以散开队形排列,支队一个接一个地站成梯形,这种队列有利于他们充分发挥武器的优势。从马略时期(Marius,约公元前100年)开始,他们发现较大的团队更好,一个步兵队拥有了600人。

图633 (A)罗马早期的短矛,其铁头插进枪杆70厘米;(B)罗马后期各种形式的短矛。
随着组织上的这种变化,武器也发生了变化。早期罗马军队的武器装备在很大程度上仿效希腊模式,重型步兵全副武装,配有长矛、希腊短剑、胸部铜铠、头盔、胫甲和圆形盾牌。随着古罗马军团组织形式(约公元前400年)的发展,新的战术和武器得到了应用。军团前两排的士兵手持短矛(即标枪),矛柄为木制,长4.5英尺,矛头为铁制,与矛柄长度相同,矛头的一半是扁平的,插入木制杆的狭缝中用铆钉固定(图633)。短矛重4—5磅,平衡性很好,便于投掷。第三排士兵仍手持长矛(hasta)。全体士兵佩带双刃剑,这种剑起源于西班牙,剑身比希腊人用的略长。另外,他们还手持约4英尺长的包皮木制椭圆形盾牌,盾牌周边用铁圈紧箍,中心用铁板加固。士兵都头戴羽饰头盔,穿胫甲,佩胸铠,或者穿缝在皮革短袍上的铜制甲衣(所谓的铠甲),或者穿一种借鉴凯尔特人的链式铠甲(图634A、634B、634C)[1]。轻装步兵(velites)手持圆形盾牌和短标枪。骑兵部队(每个军团约300名骑士)戴头盔,穿胸甲,持双头长矛,握圆形盾牌,不佩剑。
随着马略的改革进程,军团中逐渐用短矛取代了长矛。短矛的矛头是铁制的,用一个短柄和两个插钉固定在木杆上,其中一个插钉为木制,撞击后即断裂,以保证投到敌方的武器不会被敌人重新使用。后来,人们设法使矛尖以下的部分变软,一旦撞击铁矛便会弯曲,从而达到同样效果。在公元前1世纪,大家所熟知的罗马长形半圆柱盾牌也得以应用。与此同时,坚固的护胸甲普遍被盔甲所取代,盔甲是将锁链或者多块铁片缝在皮革短外套上制成的。在马略时代,随之消失的还有轻装步兵。到了半个世纪后的恺撒大帝时代,骑兵在凯尔特人和日耳曼人那里招募,不再招用罗马人。在辅助军团中,克里特岛弓箭手和巴里阿里投石手仍然发挥着作用。
但是,大原则下又包含着许多不同。罗马军队并没有统一的服装和装备,在帝国时代更是如此,我们在纪念碑上可以看到那时各种类型的头盔、标枪和盾牌。2世纪与3世纪之间,正如图拉真圆柱上所描绘的一样,罗马军团的典型特征是身着鳞片状胸甲(lorica segmentata)。这些胸甲虽在细节上有许多不同,但都是由许多铁片和铁带连缀在一起,固定在皮革短袍或结实的亚麻短袍上,既能保持形状(图634D)又能行动自如。士兵的前胸和后背用4片甲包裹着,甲片为环形,由两个半圆对接形成,后面用铰链相连,前面用扣环或皮带相接,躯干也用类似方法由一对半环保护。3条或更多的皮带跨过肩膀把铠甲前后相连,所有的皮带都尽可能多地重叠。

图634 罗马盔甲:(A)公元前6世纪的装备,配以连体头盔、圆形盾牌、胫甲、长矛及短剑;(B)公元前2世纪中期,配以羽式头盔、椭圆形盾牌、链锁铠甲、标枪及长剑;(C)公元前1世纪末,配以圆形头盔、鳞状铠甲、长方形盾牌、标枪和剑,天冷时铠甲下面穿有凯尔特人皮革短袍;(D)2世纪,配以组合铠甲、剑和穿刺长矛。
此后的两个世纪里,罗马军团的军事装备大大衰退。韦格提乌斯在公元400年写作的时候,步兵军团的传统战斗技能已经退化,带有短铁质矛头的轻型标枪代替了重型标枪,弓箭手被列入兵团之内,不再作为辅助部队参战。最糟糕的是,“由于疏忽和怯懦,军队荒废了军事演习,而且士兵开始抱怨盔甲太重,请求皇帝允许他们不穿盔甲。后来,罗马军队袒胸迎战哥特人,结果大败”[7]。步兵放弃金属铠甲,主要依靠皮革短袍。5世纪时,甚至皇帝也只穿这种皮革短袍。与此同时,骑兵铠甲的重量增加,甚至连坐骑也遮盖起来。亚历山大时期,西方受东方的影响,精锐部队都改成了骑兵,并使用极具东方特色的武器——复合弓。
早在400年前,罗马兵团的衰落就已初露端倪。公元前53年,帕提亚人以1000个铠甲骑士和1万个马上弓箭手的兵力,以少胜多,大败克拉苏军队(Crassus'Army)。在这场战役中,罗马人采取守势,等着帕提亚人的弓箭耗尽后一举反攻。但是,帕提亚将军苏雷纳斯(Suronas)发明了一种新技术,用骆驼运载大量弓箭储备。罗马人所期待的反攻机会并没有到来,只好派凯尔特轻骑队突围,结果被帕提亚弓箭手重创。
早在公元前200年,帕提亚人就经由里海南岸向新月沃地(Fertile Crescent)进军,当时的军队装备已日趋完善。手持弓箭的轻骑兵是草原上百发百中的勇士[2],帕提亚贵族从仆人中挑选骑兵。公元前1世纪时,骑兵全副武装,戴着头盔和护膝,身穿长过膝盖的鳞片状铠甲,当时的衣服袖子由金属制成,连手套也用鳞片状金属片编成(图635),马也用相似的方法保护起来,主要武器除弓箭外,还有长枪或长矛。
帕提亚铠甲骑兵的武装达到了中世纪骑士的水平,只是一旦落马便毫无战斗力。身负如此重的铠甲,骑手显然需要一匹膘肥体壮的战马。帕提亚人在米底地区发现了一种涅赛伊阿(Nesaean)马,并进行改良,得到一种前所未有的战马。但是,铠甲骑兵和以前一样没有配备马镫,靠骑手夹紧膝盖和大腿来控制战马。这些部位暴露在外面,容易受攻击(边码556)。
我们不知道罗马人是何时组建第一个骑兵军团的,可能不会迟于3世纪。在对古代骑士与当时的士兵作对比时,普罗科匹厄斯(6世纪)饶有兴致地提到了这个军团:
当代士兵穿着短袍和长达膝盖的护胫,右边挂着箭筒,左边佩着剑,背后还插着长矛,肩上挂着盾,这种盾牌没有手柄,大小刚够遮住脸和脖子。训练有素的骑兵可以在全速前进时,毫不费力地张弓射击侧面的敌人,或击退从背后追来的敌人(第Ⅰ卷,图93),也可以击中正面逃窜的敌人。他们射箭时把弓弦拉到右耳处,以使射出的箭有足够的杀伤力,让被射中者无一幸存,任何盾牌和盔甲都挡不住它[8]。

图635 古罗马人或马匹之甲胄。出自图拉真圆柱上的雕像,约110年。

图636 罗马军队中起辅助作用的弓箭手。出自图拉真圆柱,约110年。
罗马人在投掷武器方面没有重大革新,他们的技术都是从迦太基人和希腊人那里学来的。战争中普遍使用弧形的弓(希腊人曾经用过)(图636),据说是在弓箭中间的手柄处把两个山羊角的根部固定在一起制成。据考证,还有像诸神手中拿的那种直弓。罗马人当然也知道弩,因为韦格提乌斯称它为“manuballista”,与以前所说的“弩炮”是同一种武器[9]。Arcuballista好像是另外一种弩的名称。这两种罗马晚期典型的弩在高卢地区发现,但都用于追捕猎物而不是用于战争(图637)。
车载投石器在罗马军中使用得很普遍,从与士兵数量的配备比例看,普及程度与现代军队机关枪与机关炮一样。根据韦格提乌斯的记载,军团中每100人配备一门车载投石器(Carroballistae),这种小型移动式石弩由一个11人小组来操作。这些军械都在图拉真圆柱上有描绘(图638),主要用于阵地作战和攻坚战。一个军团配备55门车载投石器,此外还有10门“野驴”(onagri)投石器,一个步兵队配备一门,备攻城之用[10]。另外,与军队同行的还有建造、维护和使用投石器和其他机械的专家。

图637 弩和箭筒。出土于高卢境内的罗马人坟墓,2世纪。

图638 车载投石器。出自图拉真圆柱,约110年。
下面,我们来较为详细地讨论这些军械。
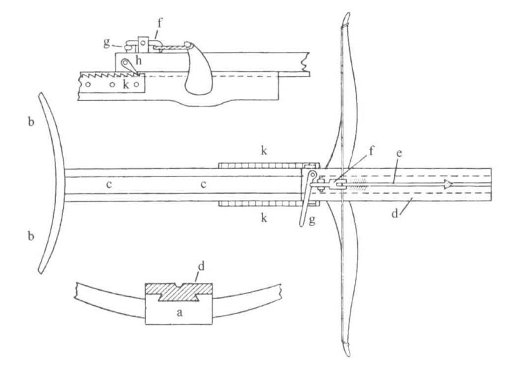
亚历山大的希罗描述过一种叫作腹弓式重型弩(gastraphetes)的武器[11]。我们无法知道它是否进行了实际使用[3]。腹弓式重型弩由两只山羊角构成,羊角插进结实的基座a中(图639),基座与弓相对的一端由一个圆形支架b支撑。基座中间刻有沟槽c,其长度与基座相同。沟槽中安插着滑木d,正好与楔形相吻合。滑木上也有沟槽,用来固定箭e。开关位于滑木上面,头部是两个分叉f,可以水平绕轴转动,尾部超过支点,落在扳机g上。棘爪h与轨道齿条k相合,以防止滑木在弓的张力作用下向前滑动。使用时,把弓弦置于分叉f后面,通过扳机锁住。滑木的前端抵在地上或墙上,射手持弓并把胸膛抵在支架b上,用他的体重和肌肉力量把滑木向后拉。弓被拉开,在齿条与棘爪的作用下保持原状。射手把箭放入沟槽,较粗的一端置于两个分叉中间。当射手扣动扳机g时,开关尾部就松开,释放弓弦,箭被推动而飞出去。
从腹弓式重型弩的结构来看,很明显是一种单人武器,也有可能放在支架或护墙上使用(就像17世纪的火绳枪)。据说,更有威力的武器也是按照同一原理制造的,其中一种用绞盘将弓绷紧,但现存资料中没有相关记载。无论如何,腹弓式重型弩确实是一种很有威力的武器,张力大约是普通弓箭的2倍或3倍。
正如希罗评价的那样,当需要很大的张力时,羊角不是一种很理想的材料。不过,扭力发射器就不存在这样的问题。希腊作者描述了直型弩(euthytonon)和V形弩(palintonon)两种形式的扭力发射器,它们显然分别是希腊语中简单弓、复合弓(双曲面)的名称。直型弩和V形弩外形的差异似乎与两种手持弩形状的差异一样,直型弩用于射箭,V形弩用于投掷石块[12]。另一个更明显的区别已经提到过,我们还会在后面提到。
在直型弩的结构方面,一直不存在什么争议。动力来自两根(用毛发或肌腱)搓成的弦,每根弦都绕在木架的两个平铁销a上(图640),木架则固定在鸠尾槽里,铁销压在由青铜或硬木制成的箍b上。两根长木臂c插进相反方向扭动的弦之间,随着弦的扭转向外扩张,直到紧紧压在与木架垂直的位置。至于这种扭转是怎么完成的,圈箍怎样控制张力,我们还不是很清楚。圈箍与木架之间的摩擦力肯定很大,粗弦的扭转中用到了杠杆原理。两臂用一根弦(由毛发或肌腱构成)连在一起,相应的简单弓就制成了。这种弓可以固定在与腹弓式重型弩相似的基座上(图639),只不过是用绞盘d的力量使弓拉紧的。这时,再将它基座固定在支架s上,便可以通过改变支撑杆t,使发射仰角发生变化。
虽然这些器械上装有滑块和导轨,但它们的作用在绞盘出现后就不是那么重要了。给绞盘装上棘轮和棘爪,把扳机安装在基座后面将弓拉过去(像中世纪的弩那样),这些简化也许在当时已经出现了。

图639 希罗的腹弓式重型弩(复原图)。

图640 菲洛描述的直型弩:(A)平面图,(B)立视图。
按照大家普遍认同的观点,V形弩(petrobolos,lithobolos)(图641)与直型弩并无很大区别,但肯定是一种杀伤力更强的武器。V形弩的弦拉得更长,并分别固定在两个方形木头架子上。直型弩的弓弦被宽皮带所取代,以给抛射物加力,除此之外没有多大变化。然而,希罗的著作中有一种不太为人所知的解释,认为V形弩的弓臂是向里的,而不是向外的(图642)[13]。在这种结构中,弓臂扭动的角度有所增加,靠近抛射物的弦也被拉得更长。另外,当弓弦绷紧的时候,弓臂与弦的形状与复合弓有几分相似。再者,装置前面的架子必须足够粗大,以承受两个相隔很远支点扭转时所产生的巨大拉力。

图641 菲洛描述的V形弩(平面图)。

图642 根据对古文献不同解释的V形弩的另一张复原图,弦向右拉以拉紧木臂。
作为罗马时期的权威作者,维特鲁威的著作没增加多少新内容,只补充了一些细节[14]。他也描述了两种相应的机械装置,一种用于射箭,一种用于投掷石块,二者的区别只是不同部件的比例不同。与希罗一样,维特鲁威根据箭的长度或者投掷石块的重量确定系数,再根据系数来确定制作石弩框架的木料尺寸。换句话说,每一个机械装置的尺寸,与投掷物的大小成正比关系, 动力元件的尺寸——搓捻成的弦——可以进行相应的调整[4]。毫无疑问,正是这种恒定比例的和谐性,使得维特鲁威对这些机械装置的设计特别感兴趣。
这些机械装置的缺陷显而易见,也为有关设计师们所熟知,例如拜占庭帝国的菲洛。它们的主要缺陷是:第一,制弓弦的筋束越是做得强劲,就越难以把它们束缚在一个大小让人易于操纵,牢度上足以抵抗机器中产生的扭力和冲击的木架子上;第二,筋束容易变质从而失去弹力,再次捻搓则会使其变形,从而减弱弹力。针对第二点不足,菲洛提出了一个简单的解决方案(图643)。他不再将箍环和筋束捻搓在一起,而是把筋束尽可能紧地缠绕在木制框架中(无须在上面穿孔),并在框架上钉楔子拉紧肌腱,弓臂就像以前一样插在筋束中。
此外,还有一种石弩叫“chalcotonon”。菲洛在设计这种石弩时,不再使用筋束,改用青铜制成的弹簧。在菲洛之前,克特西比乌斯就提出了这种改进方法。将含锡30%的合金浇铸成薄板材,然后加工成弯曲的弹簧并进行冷锻。四块这样的薄板材可以制成两个椭圆形的弹簧,然后把弹簧装在石弩中。当弓弦拉开时(图644),弹簧就被压缩。菲洛认为,这种弹力不能归因于青铜薄片,它是由锤打产生的。看来,他将青铜与钢铁的弹力特性弄错了。如果我们承认用钢铁代替青铜的方法是完全可行的话,它便完全可以在这段时期的后半段[5]用来制造更小的石弩。菲洛声称,chalcotonon比其他石弩杀伤性更强,因为它不会再受到肌腱潮湿的影响,而且组装和拆开运输都很方便[15]。

图643 菲洛使用楔子拉紧石弩(catapults)中的弦。
菲洛还设计了自动石弩(automatic ballista),这是一种快速“射击”的机械,箭盒装有大量箭头。转动曲柄,操纵锁链,弓弦被拉动,在第二支箭到位后,松开扳机,前一支箭就射出去,如此这般,直到所有的箭射完。在稍后的时期,中国人也拥有了一种与之相似的带箭盒的弩,但结构更为简单,我们在博物馆里经常可以看到这种兵器。在这些设计当中,最为奇妙的是克特西比乌斯设计的aerotonon,它靠一对气缸中的压缩空气产生弹力[16]。尽管在实际中没有什么用处,但这些发明显示出古希腊的工程师们完全有能力构想出复杂的器械。

图644 菲洛的chalcotonon(平面图)与一副椭圆形青铜弹簧中的一个(插件)。
另一方面,现在也有足够的证据可以证明,扭力发射器是一种很难对付的武器。作为一种单人武器,弹力石弩也有足够的杀伤力,尽管我们没有它被实际应用的证据。
现在已经证实,古代的最后一种发射性武器是一种单臂石弩,尽管它在考古上发现得较晚。在4世纪时,马尔切利努斯(Ammianus Marcellinus)对这种武器进行过描述(图645)[17]。一根粗绳子水平穿过石弩木框架的两边,与被吊索拉长的木臂相互作用,从而产生动力。转动曲柄使木臂下降,并将其固定在一个搭扣上,士兵敲击木槌,就能松开搭扣,木臂的冲击力由与地平线成75°角的稻草软垫缓冲。实际使用中,单臂石弩用于以高轨线、低速度发射较重的发射物。

图645 石弩。
单臂石弩只是对所有古代石弩的补充。发射物的破坏力与mv2成正比,m代表发射物重量,v代表发射速度。古代人在提高发射速度方面无能为力(最高速度从未超过200—220英尺/秒),只能增加发射物的重量,所以往往使用重达300磅的石块(按照维特鲁威记载)。此外,由于发射的初速度很低,为了达到预定射程,只得以30°—45°较大的仰角进行发射。然而,我们可以想象,当直接面对敌人时,石弩也可以近距离平射。大体上来说,古代弹道学家倾向于使用高轨线射击,尤其是在瞄准高于城墙的地方或塔顶部的时候。
古代投掷机械的复原装置(在巴黎大约是1860年,在英国和德国约是1905—1910)所具有性能,与古代作者的描述完全吻合[18]。所有这些装置正常的有效射程不超过500码,如果使用更有威力的发射工具或发射更轻的物体,射程会增加一半。通常的发射物是带有铁头的箭或镖,长约一码或稍长一些,重5—6磅。此外,发射物中也有重6—10磅的石块。那时肯定也发射过重量更大的物体,只是很少而已。在那种情况下,射程当然也会大大缩短。正如一些历史学家所说的,在特殊情况下,发射50磅甚至更重的物体虽有可能,但我们也不用奢望它的射程会很远,或发射装置能够较长时间地发射如此重的物体而不散架。
罗马人对叙拉古的围攻(公元前214—前212),已经作为大量使用投掷机械和其他攻坚机械的典型战役而被记载,普鲁塔克对它的描述充满了戏剧性色彩[19]。罗马的将军马塞卢斯用绳索将8艘船连成木筏平台,载着庞大的机械进攻。此时,阿基米德也开始了军事技术的研究,但仅仅是把它当作几何学家的假日休闲活动。
他(阿基米德)的兵器开火时,从陆地上发射了大量飞镖和石块,噪音之大,威力之强,没有人能抵挡得住。一些[罗马]船只被铁钩钩住,相互牵制,无法动弹,随后便往往看到这样一幅可怕的场景:一艘船被抛向空中,不是撞上堡垒,就是掉进海里。马塞卢斯带到木筏平台上的庞大军械(称为“Harp”),还在很远的地方就被一个接一个重达10塔兰特[?]的石块击中而倒塌,船板之间的螺丝松动了,木筏平台也散了架,这个庞然大物被撕成了碎片。
最后,罗马人变得十分惊慌,“只要看到墙上有一根绳或细小的横木,便会转身逃跑,边跑边喊着,阿基米德带武器来攻打啦”。
无疑,古代世界许多大的围攻战役都可以用相似的言语来描述,以突出工程和机械技术在战争中起到的作用。例如,我们来比较一下约瑟夫斯(Josephus)关于韦斯巴芗皇帝67年围攻约大帕他城和70年围攻耶路撒冷的描述。在围攻中,约瑟夫斯担任犹太的将军[20]。在强攻约大帕他城失败后,韦斯巴芗总共安排了160门投掷石块和发射飞镖的机械装置,用来赶走城墙上的防御者。这些装置按照设计者的意图,向以色列人发射长矛,并发出很大的声音,其他一些装置投掷重达50磅的石块以及火器和大量的箭头,逼得犹太人弃墙而逃,许多人被砸伤。罗马人的投掷武器威力太大,把城墙顶楼都打飞了,城墙一角也被搬了家,没有人会强壮到在这样的攻击下还能负隅顽抗(约瑟夫斯所言)。最后,罗马人抬来攻城槌,在城墙上打出一个缺口,以色列人再也无力抵抗了。
除了投掷机械装置外,希腊和罗马的作家们都曾描述过许多攻城机械、攻城工具和攻城策略,其中最古老且用途最大的便是攻城槌。在尼尼微的废墟中,发现了攻城槌的残迹(图646)。起初,这种攻城槌靠人用胳膊推动(就像图拉真圆柱雕像显示的达西亚部落的人一样),在公元前5世纪或者更早时发展成为机械设备。其中一种攻城槌,是把一根又长又重的横梁两端包上铁,形似木槌头,用绳子水平悬挂在木架上,木架底部装有轮子,既可以推,也可以拉,槌在里面像摆锤一样不断地摆动。另一种是把磙子固定在一个与之相似又装有轮子的木架上,槌在上面可以滑动,木架外面用兽皮护板完全蒙住,用来保护木槌操作人员不受围攻者发射武器的袭击。这是许多“龟形装甲”中的一种。最简单的龟形装甲是一队人头顶上有一块连在一起的防护板,防护头部和肩部(图647)。更为精巧的装置配有带轮子的底盘座,顶板由结实的梁木支撑。在这样的防护掩体下,士兵可以向城墙包抄,开始攻城。一组防护掩体就构成一道保护长廊,防护掩体中最小的被叫作“小老鼠”。由于古代人不挖战壕,有些没有轮子的掩体就被安放在一个固定的地点进行防护。

图646 一幅亚述人浮雕中显示的攻城槌,有掩体,并装有轮子。出自尼尼微,公元前7世纪。
如果既不采用挖坑道并借助龟形装甲的方法打开城墙缺口,也不使用攻城槌,那么还可以通过许多其他途径占领城墙。在使用云梯失败的情形下,部队可以用土堆出一个斜坡,一直延伸到城墙顶部,就像恺撒公元前52年在进攻布尔日时用过的办法一样。建造一个可移动式塔楼,也不失为一个很好的选择,这也是古代伟大的发明创举之一(图648)。这种塔楼从马其顿人时期起就得到了大规模的应用,正像亚历山大和德米特里在向罗得进攻时就建造了城市毁灭者(helepolis,一种可移动攻击塔)一样。塔楼下面是一个底盘座,应该装有许多轮子,上面是一个10层或20层高的木头架子,中间有梯子,可以让士兵一个接一个地往上爬。塔楼外层是蒙有兽皮的坚硬木板,以防止守御者投掷火罐。塔楼底部常常安装有攻城槌,顶层装有发射器,通过小孔向外发射。在适当的高度还装有吊桥,以备士兵随时突然出击城墙和城墙塔楼。据维特鲁威记载,较小塔楼高90英尺,底盘座面积25英尺见方,较大塔楼的高度是较小塔楼的两倍,底盘座面积有33英尺见方。
尽管这样的尺寸看起来似乎很荒谬,但有足够的证据表明这种塔楼确实建造和使用过,而且高过任何一座第一流城市的城墙。据推测,这种塔楼重100多吨——这并不是不可能实现的。毫无疑问,当时人们采用了滑轮组,把这座庞然大物拖拉到适当位置。对设计师来说,除了有受敌人攻击的危险外,这样的任务要比把巨型石料从埃及运到古罗马广场容易得多。
在罗马时期,因为攻城方式变化不是太大,守城原则也趋于保持不变。由于篇幅所限,我们在这里无法详细描述防御的方法,尽管罗马人肯定投入了巨大的人力来构筑城市防御工事。我们特别说明以下几点:(a)伯里克利(Pericles)时代以后,所谓的“多边形”建筑风格——建筑中保持石块不规则的形状——被放弃了,而代以巨大的方形石块(图版40A、41A)。(b)早期的门是在墙上凿出的不规则的长方形门洞,后来,希腊人及罗马人建造了形状各异的巧妙的门式迷宫,从而最大限度地暴露、拖延强行攻入的敌人。(c)修建垛口以提高城墙的防御能力,并把城墙筑成台阶式(图649),以便向进攻方未防护的右侧投掷石块、火器等。(d)墙体的建筑结构更为复杂,常有一条、两条或更多条多层长廊(图650),包括精巧的楼梯和塔楼间通道等,这在罗马帝国时期的墙体上至今也能看到。(e)随着攻城机械的发展,防御设施也不断加强,包括至少3条深沟和同样多的同心城墙,并修建塔楼予以支援(图651),主要的目的是从城内控制每座城墙,使进攻者攻城时不得不逐个应对。

图647 “龟形”装甲,出自图拉真圆柱雕像,约110年。
罗马城的防御设施堪称建筑方法的范例,其中许多设施至今保存完好,例如在都灵和特雷夫斯(图版41A、B)。罗马人也首先系统地注意到驻扎远征军和守卫边界两个防御中的问题。不管营地是暂时的还是永久的,构筑营地的方法都通过军事纪律来确定,挖沟、筑垒、军队的驻扎和军团中各种职责都有细致的规定,图拉真圆柱的雕刻作品中显示了执行诸如筑城墙之类任务(图652)的场景。依靠这些营地,尤其是驻军营地,军队就可以控制大面积的领土。然而,哈德良时代以后,人们发现仅仅占领不列颠和日耳曼的领土是不够的,还必须保证被占领地区不受周围原始部落的袭击。因此,罗马的战略家们更愿意修建城墙、瞭望台、哨岗和据点来加强自己的“自然”边防。直到今天,这些伟大创举的遗迹仍然可见(图版40B、图653)。

图648 攻城时用的可移动式塔楼(复原图)。

图649 阶梯形幕墙。

图650 尼西亚的防御性建筑剖面。

图651 君士坦丁堡防御建筑的剖面。

图652 军队在构筑要塞(也许用草拌泥)。出自图拉真圆柱雕刻,约110年。
提到日渐衰落的罗马帝国,不能不提到一个发明家——《论战争的物质要素》(De rebus bellicis)的无名作者。他的活动时期为370年前后。人们曾经这样评价他:“整个伟大的罗马时期,没有什么重大技术发明,他是唯一一位很自觉很认真地努力提高他所处时代的技术水平的著名罗马人,并在许多领域中作了严谨的尝试。”[21]他曾经描述过(夹在对其他事物的描述中) 一种由牛拉动的桨轮船(图549),3 种装备有长柄镰刀的敞篷战车,一种用膨胀皮囊做成的便携式浮桥,两种新型的弩炮,其中一种被安装在四轮马车上, 而且没有用到扭矩原理。不幸的是,当时的人们不理解这些描述和插图的技术含义[6] 。作者的目的很简单,就是节省人力:“战无不胜的皇帝陛下,您用这些技术发明装备您的军队,您那战无不胜的军队的力量会得到成倍的加强。反击敌人的入侵,不仅是力量的较量,还是机械智慧的较量。”[22]

图653 日耳曼帝国边界部分防线图和要塞分布。