1.2.9  螺钉用十字槽

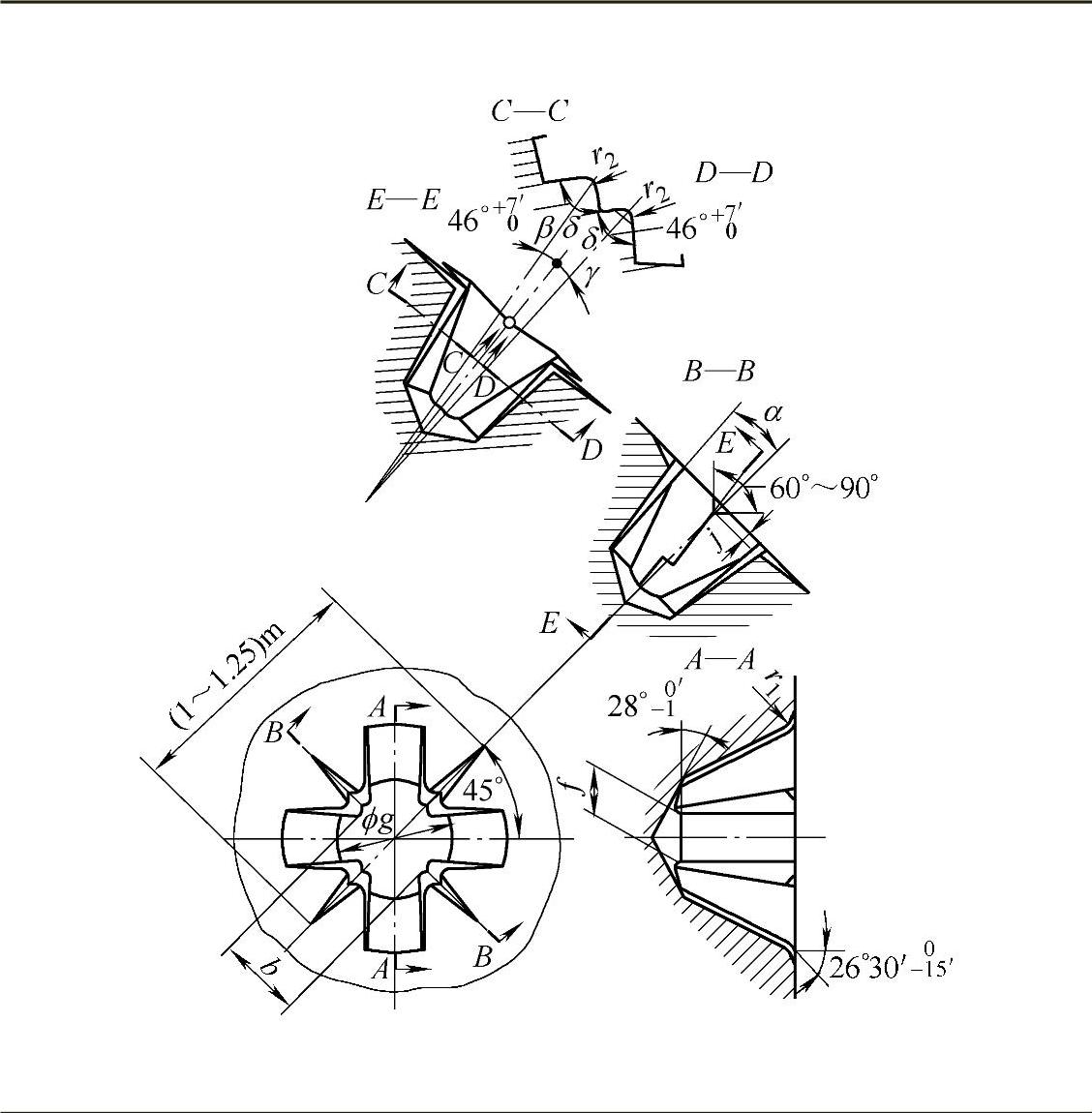
1.2.9 螺钉用十字槽

(见表1.2-22和表1.2-23)

表1.2-22 H型十字槽的型式与尺寸(GB/T 944.1—1985)

978-7-111-34285-4-Chapter01-46.jpg

(续)

978-7-111-34285-4-Chapter01-47.jpg

注:1.0号槽的a角以rmin=0.25mm;rmax=0.36mm代替。

2.表中给出的尺寸都是理论值,供模具制造用,在制品上不予检查。

表1.2-23 Z型十字槽的型式与尺寸

978-7-111-34285-4-Chapter01-48.jpg

(续)

978-7-111-34285-4-Chapter01-49.jpg

注:表中给出的尺寸都是理论值,供模具制造用,在制品上不予检查。