1.六角厚螺母

1.六角厚螺母

(GB/T 56—1988)

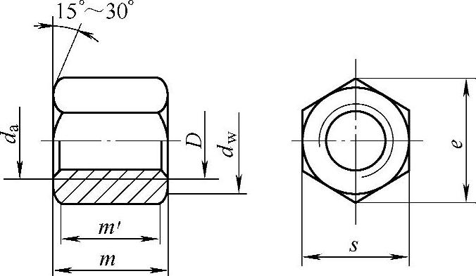
六角厚螺母如图2.3-2所示,尺寸见表2.3-1,技术条件和引用标准见表2.3-2。

978-7-111-34285-4-Chapter02-242.jpg

图2.3-2 六角厚螺母

标记示例:

螺纹规格D=M20、性能等级为5级、不经表面处理的六角厚螺母的标记:

螺母GB 56 M20。

表2.3-1 尺寸 (单位:mm)

978-7-111-34285-4-Chapter02-243.jpg

注:尽可能不采用括号内的规格。

表2.3-2 技术条件和引用标准

978-7-111-34285-4-Chapter02-244.jpg