植物保护机械风送喷雾机喷头旋接螺母

28.植物保护机械风送喷雾机喷头旋接螺母

(GB/T 18677—2002)

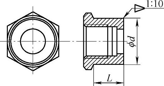
植物保护机械风送喷雾机喷头旋接螺母如图2.3-79所示,尺寸见表2.3-143。

978-7-111-34285-4-Chapter02-518.jpg

图2.3-79 植物保护机械风送喷雾机喷头旋接螺母

表2.3-143 尺寸 (单位:mm)

978-7-111-34285-4-Chapter02-519.jpg