球面六角螺母

13.球面六角螺母

(GB/T 804—1988)

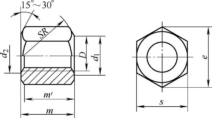
球面六角螺母如图2.3-14所示,尺寸见表2.3-30,技术条件和引用标准见表2.3-31。

表2.3-30 尺寸 (单位:mm)

978-7-111-34285-4-Chapter02-293.jpg

978-7-111-34285-4-Chapter02-294.jpg

图2.3-14 球面六角螺母

标记示例:

螺纹规格D=M20、力学性能等级为8级、表面氧化的球面六角螺母标记:螺母GB/T 804 M20。

表2.3-31 技术条件和引用标准

978-7-111-34285-4-Chapter02-295.jpg