6.磁性表座
2025年10月13日
6.磁性表座
(JB/T 10010—2010)
磁性表座也叫磁性底座,它里面是一个圆柱体,在其中间放置一条条形的永久磁铁,外面底座位置是一块软磁材料。通过转动手柄来转动里面的磁铁。当磁铁的两极(N或S)呈上下方向时,也就是磁铁的N或S极正对软磁材料底座时,就被磁化了,这个方向上具有强磁,所以能够用于吸住钢铁表面。而当磁铁的两极处于水平方向时,则N、S的正中间正对软磁材料底座时(长条形磁铁的正中间只有极小的磁性,可以不记)不会被磁化,所以此时底座上几乎没有磁力,就可以很容易地从钢铁表面取下来了。
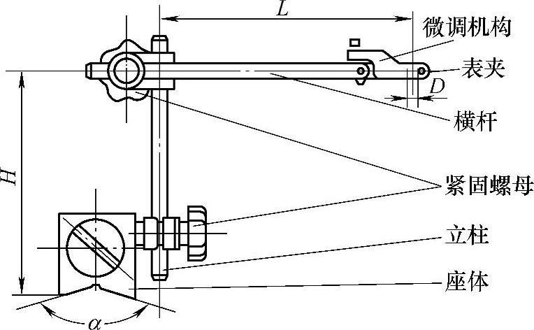
磁性表座是用于支承指示表类量具,借助磁力固定位置的器具。具有微量调节功能的磁性表座为微调磁性表座。
表座的型式见图6.2-34和图6.2-35所示。

图6.2-34 磁性表座

图6.2-35 微调磁性表座
表座的规格和尺寸见表6.2-22。
表6.2-22 规格和尺寸
