6.1.5 内容屑丝锥
(JB/T 5611—2006)
内容屑丝锥是一种新型丝锥。丝锥切削部分中间有孔。当攻螺纹时,切屑容在中间孔里。这样,切削不会刮伤已加工的螺纹表面,加工出的螺纹表面质量好。内容屑丝锥使用高性能高速钢,硬度可达68HRC以上,切削性能好,使用寿命长,加工出的螺纹精度高。内容屑丝锥结构分为整体内容屑丝锥和套式内容屑丝锥。根据需要可单支使用也可成组使用,适于电站设备、大中型设备加工不通孔内螺纹用。
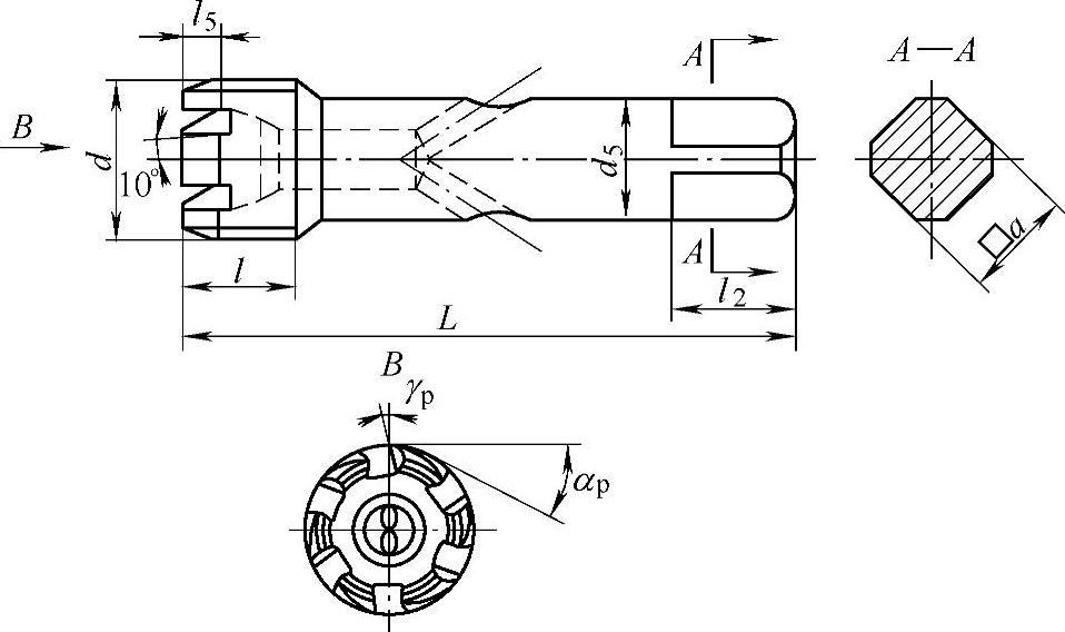
整体内容屑丝锥型式如图6.1-7所示,尺寸在表6.1-16中给出。

图6.1-7 整体内容屑丝锥型式
表6.1-16 整体内容屑丝锥 (单位:mm)

(续)

(续)

(续)

(续)

注:整体内容屑丝锥切削锥齿数Z推荐为:M10~M16(Z=3);M18~M39(Z=4);M42~M80(Z=6);M90~M100(Z=8)。
标记示例:
1)细牙普通螺纹,直径64mm、螺距4mm、H1公差带、单支整体内容屑丝锥:整体内容屑丝锥 M64×4—H1 JB/T 5611—2006。
2)粗牙普通螺纹,直径64mm、螺距6mm、H2公差带、两支一组整体内容屑丝锥:整体内容屑丝锥 2×M64—H2 JB/T 5611—2006。
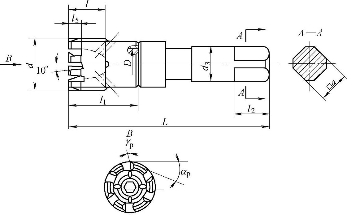
套式内容屑丝锥型式如图6.1-8所示,尺寸在表6.1-17中给出。

图6.1-8 套式内容屑丝锥
表6.1-17 套式内容屑丝锥 (单位:mm)

(续)

(续)

(续)

(续)

(续)

注:套式内容屑丝锥切削锥齿数Z推荐为:M56~M80(Z=6);M85~M110(Z=8);M115~M140(Z=10);M150~M200(Z=12);M210~M250(Z=14)。
标记示例:
1)细牙普通螺纹,直径64mm、螺距4mm、H1公差带、Ⅱ型单支套式内容屑丝锥:套式内容屑丝锥 Ⅱ M64×4—H1 JB/T 5611—2006。
2)粗牙普通螺纹,直径64mm、螺距6mm、H2公差带、Ⅰ型两支一组套式内容屑丝锥:套式内容屑丝锥2-Ⅰ M64—H2 JB/T 5611—2006。