球面六角螺母

15.球面六角螺母

(GB/T 804—1988)

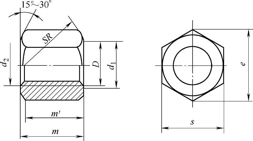
球面六角螺母如图2.3-66所示,尺寸见表2.3-124,技术条件和引用标准见表2.3-125。

978-7-111-34285-4-Chapter02-479.jpg

图2.3-66 球面六角螺母

标记示例:

螺纹规格D=M20、性能等级为8级、表面氧化处理的球面六角螺母的标记:螺母GB/T 804 M20。

表2.3-124 尺寸 (单位:mm)

978-7-111-34285-4-Chapter02-480.jpg

表2.3-125 技术条件和引用标准

978-7-111-34285-4-Chapter02-481.jpg