1.8.6 蝶形螺母的机械性能
2025年10月13日
1.8.6 蝶形螺母的机械性能
(GB/T 3098.20—2004)
蝶形螺母的保证扭矩见表1.8-23。
表1.8-23 保证扭矩 (单位:N·m)

应按以下规定的试验方法之一进行蝶形螺母保证扭矩试验。螺母应能满足二者之一的要求。
1.固定螺栓法
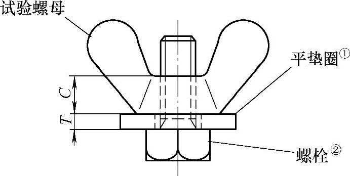
将蝶形螺母拧入涂有润滑油的螺栓及垫圈上,如图1.8-1所示。用台钳夹住螺栓头部(不旋转即可),然后借助专用夹具(见图1.8-2)对螺母施加扭矩并达到表1.8-23规定的保证扭矩值,如图1.8-3所示。
2.固定螺母法
将蝶形螺母拧入涂有润滑油的螺栓及垫圈上,如图1.8-1所示。用台钳夹住螺母两翼(不旋转即可),然后对螺栓施加扭矩并达到表1.8-23规定的保证扭矩值,如图1.8-4所示。

图1.8-1 安装试验螺母
T≥螺栓不完整螺纹部分的长度。
C—见蝶形螺母产品标准中的m尺寸。
① 垫圈硬度≥30HRC;垫圈产品等级为A级。
② 螺栓硬度≥27HRC;螺纹为6g级;螺栓产品等级为A级。

图1.8-2 专用夹具

图1.8-3 固定螺栓法
C—见蝶形螺母产品标准中的m尺寸。

图1.8-4 固定螺母法
C—见蝶形螺母产品标准中的m尺寸。