精密机械用紧固件十字槽自攻螺钉刮削端
2025年10月13日
15.精密机械用紧固件十字槽自攻螺钉刮削端
(GB/T 13806.2—1992)
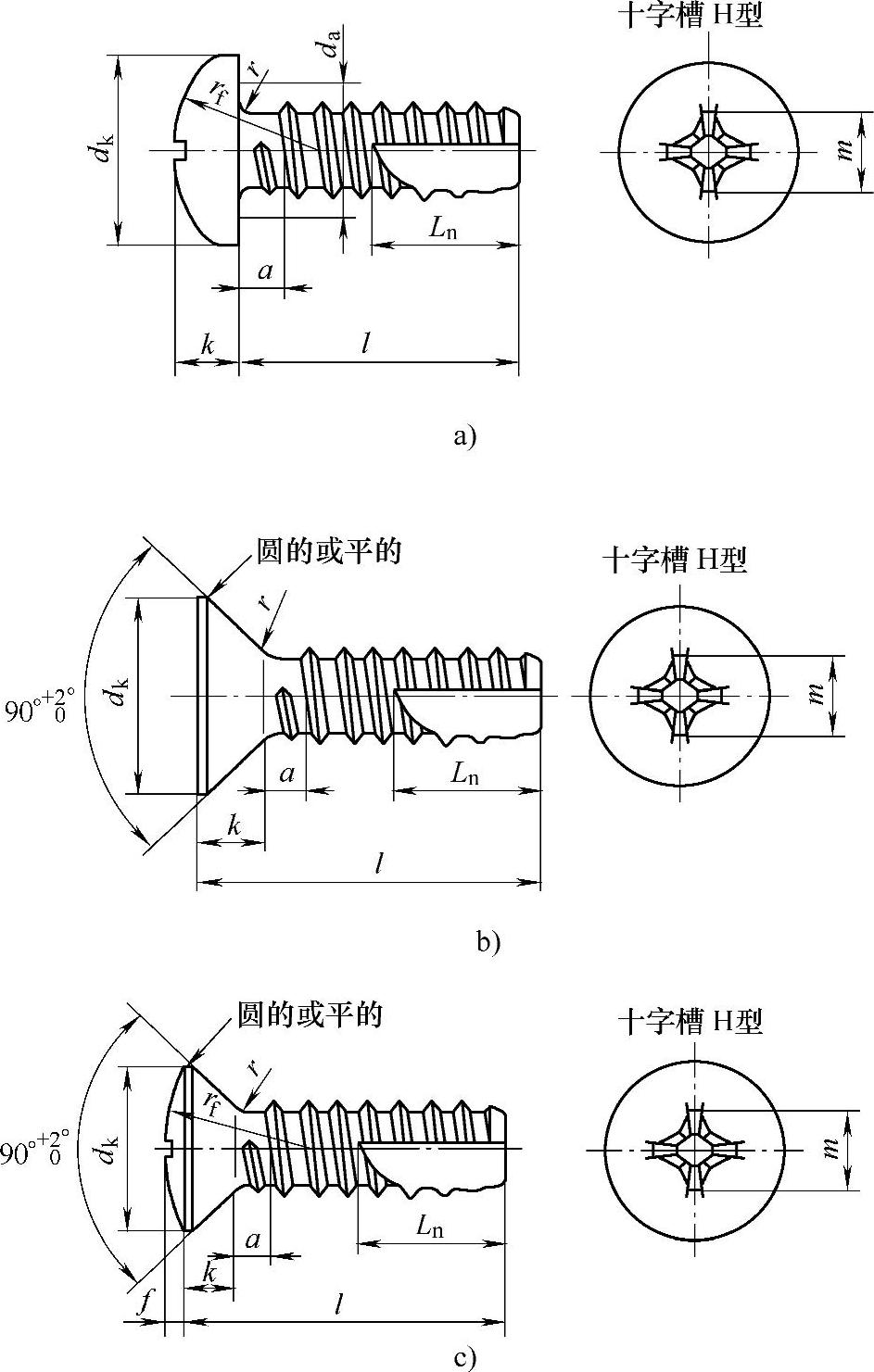
精密机械用紧固件十字槽自攻螺钉刮削端如图2.6-15所示,尺寸见表2.6-30~表2.6-32,技术条件和引用标准见表2.6-33。
标记按GB 1237规定。
标记示例:
螺纹规格ST2.2、公称长度l=6mm、镀锌钝化的A型——十字槽盘头自攻螺钉刮削端的标记:
自攻螺钉GB/T 13806.2 ST2.2×6。
螺纹规格ST2.2、公称长度l=6mm,镀锌钝化的B型——十字槽沉头自攻螺钉刮削端的标记:
自攻螺钉GB/T 13806.2 B ST2.2×6。
螺纹规格ST2.2、公称长度l=6mm,镀锌钝化的C型——十字槽半沉头自攻螺钉刮削端的标记:
自攻螺钉GB/T 13806.2 C ST2.2×6。

图2.6-15 精密机械用紧固件十字槽自攻螺钉
a)A型——十字槽盘头自攻螺钉 刮削端 b)B型——十字槽沉头自攻螺钉 刮削端 c)C型——十字槽半沉头自攻螺钉 刮削端
表2.6-30 尺寸(A型) (单位:mm)

注:尽可能不采用括号内的规格。
① P—螺距。
表2.6-31 尺寸(B型) (单位:mm)

注:尽可能不采用括号内的规格。
① P—螺距。
表2.6-32 尺寸(C型) (单位:mm)

注:尽可能不采用括号内的规格。
① P—螺距。
表2.6-33 技术条件和引用标准
