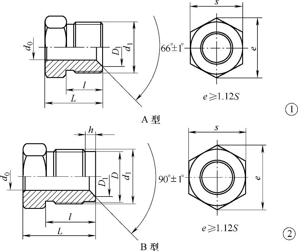
扩口式管接头空心螺栓

4.扩口式管接头空心螺栓

(GB/T 5650—2008)

扩口式管接头空心螺栓如图2.1-40所示,尺寸见表2.1-74。

978-7-111-34285-4-Chapter02-182.jpg

图2.1-40 扩口式管接头空心螺栓

标记示例:

管子外径为10mm,表面镀锌处理的钢制扩孔式管接头用A型空心螺栓标记为:

螺栓GB/T 5650 A10。

表2.1-74 尺寸 (单位:mm)

978-7-111-34285-4-Chapter02-183.jpg