8.机床夹具用钩形螺栓
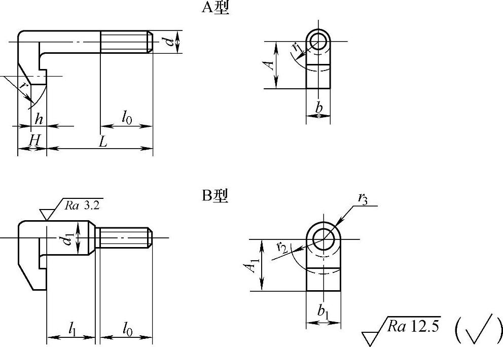
材料45钢按GB/T 699的规定;热处理:35~40HRC,其他技术条件按JB/T 8044—1999的规定。机床夹具用钩形螺栓如图2.1-45所示,尺寸见表2.1-82。

图2.1-45 机床夹具用钩形螺栓
标记示例:
d=M6、A=12mm、L=30mm的A型钩形螺栓标记为:
螺栓 AM 6×12×30 JB/T 8007.3—1999。
d=M6、A1=15mm、L=30mm的B型钩形螺栓标记为:
螺栓 BM 6×15×30 JB/T 8007.3—1999。
表2.1-82 尺寸 (单位:mm)

(续)
